как сделать своими руками? Размеры и чертежи. Как сделать клеточную батарею?
Клетки для кур-несушек изготавливает своими руками основная составляющая фермеров по причине многофункциональности и несложности сооружения. Имеется две базовые модификации: с твердым настилом и с яйцесборником. Второй вариант проблематичнее в создании, но комфортнее в обслуживании. Кроме того, в клетках должны располагаться светильники и оборудование для подачи корма. Освещение требуется с целью удлинения срока несения яиц (как только длительность дня станет короче).
Особенности
Содержание кур на яйца является распространенной деятельностью личного подсобного хозяйства. Как показывает практика, клетки для кур-несушек являются недорогим и самым удачным решением для подобной деятельности. Это обусловлено:
- перспективой непрестанного контроля птицы;
- компактной локализацией кур;
- комфортным сбором яиц;
- определенной последовательностью кормления и ухода.

Однако не любая клетка сгодится для разведения птиц в домашней обстановке – традиционные строения для проживания бройлеров и цыплят не пригодны для качественного сбора яиц.
В связи с этим спроектированы специализированные клетки для кур-несушек, которые дают возможность птице ощущать себя комфортно, а владельцу – иметь неплохой доход. Существует два способа получения требуемого устройства:
- приобрести клетку в специализированной торговой точке;
- изготовить клетку своими руками.
Первый способ в меньшей степени трудозатратный, однако является наиболее дорогостоящим.
В связи с этим многие заводчики птицы останавливают свой выбор на самодельных конструкциях. Изготовить клетку для кур-несушек самостоятельно – это относительно легко и быстро.
Почти любой, обладая элементарными навыками и подручными материалами, в силах выполнить все требуемые процессы, используя разработанные чертежи и изображения.
Как выбрать?
Выбор клетки осуществляется с учетом самых разнообразных факторов, речь о которых пойдет ниже.
Ключевым из них является масштаб хозяйства. Для десяти несушек гораздо разумнее устроить два гнезда, чем содержать их в клетке. Если же пернатых больше, а возможности вольного выгула при любых условиях не имеется, отдавать предпочтение стоит содержанию их в клетках.
- Следующий фактор – материал изготовления. Металлические материалы значительно долговечнее и надежнее, если только практиковать металл, покрытый цинком.
Из древесины клетку создать, естественно, легче. Но она не до такой степени крепка и для многоуровневых сооружений, например, не подходит.
- Численность экземпляров. Клетки для одного экземпляра, как правило, применяются при выращивании пород, где имеет большое значение прослеживать принадлежность яиц. Для яйценосных кур особенно востребованными считаются клетки на 4-5 экземпляров. При значительном хозяйстве практикуются самые большие сооружения (на 7 экземпляров) и размещаются ярусами.
- Концепция. Клетки бывают транспортируемыми и статичными. Статичные инсталлируются внутри помещения и не перемещаются. Переносные варианты оснащаются снаряжением для переноски и в летний период выносятся на улицу. Даже при отсутствии вольного выгула нахождение на свежем воздухе и на солнце делает птиц более здоровыми.

- Способ установки. В рядовых ситуациях клетки помещаются на стойки. Дистанция от сооружения до пола обусловливается комфортом. Настенная установка практикуется только тогда, когда забор является переборкой, поскольку несущие стенки в зимнее время чересчур сильно выстывают. Подвесная версия попадается реже всего – подобный способ упрощает уборочные мероприятия в помещении, однако он наиболее сложен в реализации.
Ярусные сооружения применяются обычно в больших хозяйствах, где необходимо поместить наибольшее число кур на малой площади. Эта модификация неразборная и представляет собой целостный остов с клетками и поддонниками, которые установлены на определенной дистанции друг от друга.
При эксплуатации клеточной батареи для разведения несушек очень важно обеспечить необходимую освещенность.
Не следует допускать темных либо чрезмерно освещенных мест.
В больших хозяйствах часто практикуется освещение разного спектра. Как видно из практики, ротация желтого, оранжевого, красного цветов, а также градационное включение и выключение освещения, симулирующее восход и заход, позитивно воздействует на продуктивность несушек.
Размеры и форма
Чтобы вычисления были правильными, необходимо принимать во внимание размеры птицы, которую предполагается содержать.
- Яичная. В подобном варианте клетку не следует делать чрезмерно высокой, так как размеры такой курицы не очень большие.

Считается, что одной птице необходимо обособить пространство от 20 до 50 см2. - Мясо-яичная. Экземпляры пород мясо-яичного направления характеризуются большими размерами, в связи с чем на одну особь понадобится обособить больше места – приблизительно 80-90 кв. см.
При расчетах параметров клетки необходимо также принимать во внимание численность поголовья, так как чрезвычайно важно выдержать соотношение по площади и предотвратить в будущем чрезмерную тесноту. Например, по численности голов клетки могут быть:
- для одной курочки – 50x50x65 см;
- для 2-3 несушек – 60x100x45 см;
- для 4-5 несушек – 60x120x50 см;
- для 5-7 несушек – 70x150x65 см.
Материалы
Главными условиями при налаживании клеточного разведения кур является безопасность и соответствие требованиям гигиены.
Готовая клетка обязана быть приспособлена для очистки и санобработки. Кроме того, она должна исключать любые травмы птиц при использовании. Необходимо планировать свободное пространство таким образом, чтобы была оптимальной проницаемость света и воздушных масс.
Остов клетки изготавливается из деревянного бруска либо металлического профилированного материала. Стены выполняются из материала, покрытого цинком, либо из некорродирующей сетки. Для области крепежа поилок и кормушек голова курицы должна свободно проходить сквозь отверстия. Пол имеет необходимость в сетке с небольшим сечением, чтобы не затруднять передвижение птицы.
Потребуется следующий инструмент:
- шуруповерт;
- угловая шлифовальная машинка;
- пила;
- карандаш;
- рулетка, угольник и уровень.

Если конструкция будет железной, понадобится электросварочный агрегат. Приготовив все исходные материалы и инструментарий, можно приступать к созданию сооружения.
Как сделать?
Исходя из потенциалов хозяина фермы и задач выращивания кур, клетки могут быть различными. Их можно ориентировочно поделить на два ключевых типа.
- С подстилкой. В подобных конструкциях полы сооружаются глухими и застилаются соломой либо стружкой.
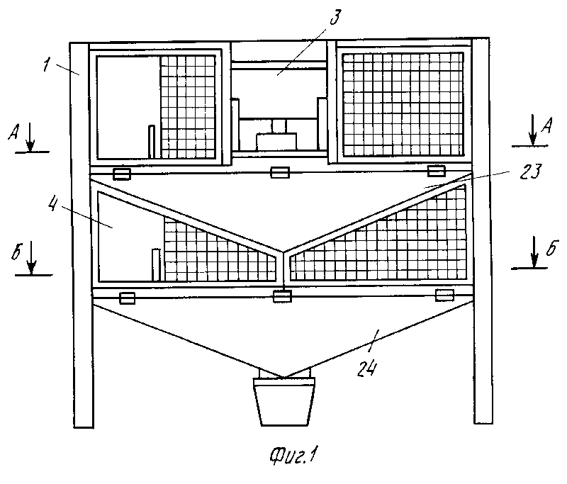
- С косым настилом и яйцесборником. Настил выполняется сдвоенным, верхний уровень сооружается решетчатым и обладает наклоном. Нижний – глухой и оборудован выдвигающимся приспособлением. Конструкция дает возможность поддерживать сухость и чистоту. Яйца в этом случае не попадают под птицу либо в гнездо, а немедленно скатываются вниз в желобок.
Такая конструкция клетки считается идеальной, так как позволяет свести к минимуму время контакта курицы с яйцом.
Каждую из этих модификаций можно смонтировать своими силами в домашней обстановке. Иной раз клетки сооружаются групповыми для 7-10 экземпляров (гораздо больше в солидных птицехозяйствах). При значительном птичьем поголовье подойдет клеточная батарея (агрегат из клеток).
- Прежде чем приступить к работе, необходимо побеспокоиться о чертеже приспособления. Изначально надлежит скомпоновать схему всего сооружения и изобразить ключевые размеры. Значительно проще применить готовые параметры, которые были разработаны специалистами.
- Остов клетки изготавливается, как правило, из древесины, так как она в большей степени является доступным и экологически чистым материалом. Вместо бруса, можно применять железные уголки либо профиль под гипсокартон. В такой ситуации потребуется дополнительный инструмент – электросварочный аппарат.

- Выполняется разметка и разрезание материала для остова. Приготовленные бруски 40х40 мм необходимо разрезать ножовкой либо электрическим лобзиком по чертежу. Торцевые поверхности зачищаются наждачной бумагой.
- Посредством покрытых цинком уголков и саморезов производится сборка каркаса. Кроме того, можно упрочить его с помощью фанерных косынок по боковым стенам. Для устройства нижнего поддонника монтируется решетчатый настил из бруска 20×40 мм. Из такого же бруска изготавливается остов дверцы. Если клетка предназначена для перевозки, то на ножки устанавливаются колесики для мебели.
- Если остов собирается из металлического профилированного материала, то готовые элементы соединяются самонарезающими шурупами по металлу, а профильная трубка или уголок – посредством сварки.
- Изготавливается сетчатый пол: режется стальная сетка с маленькой ячейкой по эскизу, ее переднюю кромку необходимо согнуть в виде желоба.
Для усиления пола можно изготовить горизонтальные опоры из бруса 20×40 мм с промежутком между ними не меньше 20 см. Брус необходимо обработать антисептическим средством, например, известью либо олифой. Сетка прикрепляется к брусу посредством «саморезов-клопов». - Задняя и торцовая стена обтягивается сеткой, выполненной из металла с маленькой ячейкой, фиксируется «саморезами-клопами». Чтобы исключить лишние манипуляции с разрезанием материала, можно согнуть торцовые стены из одного фрагмента сетки.
- Лицевая стена-дверца покрывается сеткой 50×50 мм, фиксируется саморезами. Желательно сделать дверцу откидывающейся – при ширине 1 м раскрывающаяся дверка будет не очень комфортна. Для блокирования дверцы устанавливаются щеколды.
- Кровля клетки изготавливается из решетки, ориентированно-стружечной плиты либо влагоустойчивой фанеры. Фиксируется посредством саморезов.
- Из оцинковки изготавливается лоток-поддонник по габаритам днища клетки.
Лицевая его кромка отгибается в форме ручки. Располагается он на настиле из бруска.
Сооружения с яйцесборником
Устройство дома для несушек начинается со сборки скелета. Желательно выполнить его из древесины либо алюминиевого профилированного материала.
Если в хозяйстве имеется электросварочный агрегат, то остов можно изготовить из железных трубок либо уголков.
Чтобы сделать деревянную основу, подготавливается брусок 40х40 мм. Располагается он по размерам, отмеченным в чертеже. По отметкам он разрезается ножовкой, а затем связывается посредством саморезов. Дальнейшее сооружение клетки для кур выглядит так, как описано ниже.
- Изготавливается нижний поддонник, дверца. Остов желательно выполнить из бруска 20х40 мм.

- Выполняются полы из стальной сетки. Она разрезается по размерам в эскизе, а кромки загибаются для создания конструкции в виде лотка. Пол выполняется с добавочными поперечинами из этого же бруска (20×40 мм).
Монтаж пола к остову осуществляется под углом 5-7 градусов. Такое ухищрение оказывает содействие комфортному сбору яиц, которые будут скатываться к специализированному желобу, приколоченному к лицевой части. Эта методика дает возможность добиться 100% целостности продукта, так как у курицы не будет возможности раздавить либо клюнуть яйцо.
- Сетка фиксируется посредством саморезов отдельно на каждой стене либо же полностью, загибая ее по углам самодельной коробки.
- На дверку крепится сетка, навесы и засовы.

- Окончательным процессом постройки станет установка лотка для сбора экскрементов. Изготавливается он из покрытого цинком листа по параметрам, обозначенным в чертеже клетки для кур-несушек. Он монтируется на направляющие из древесины, чтобы очистка в дальнейшем была комфортной.
Клеточные батареи (агрегат из клеток)
Состоящие из секций сооружения, как правило, имеют три яруса. Создаются исключительно из металлического профилированного материала и сетки, поскольку обязаны переносить приличную нагрузку. В большинстве своем агрегаты из клеток покупаются готовыми, потому что при создании необходимы сварочные мероприятия.
Многоуровневая железная клетка для кур-несушек является оптимальным решением для крупных хозяйств.
Преимущество готовой конструкции заключается еще и в том, что при весьма больших масштабах агрегата его можно оснастить системами автоматической водоподачи и кормов, что значительно упрощает работу фермера.
Как обустроить?
По той причине, что содержание в клетке сопряжено с ограничением активности пернатых, надлежит уделить внимание грамотному обустройству пунктов доступа к еде и питью.
Птица должна без труда дотягиваться до пищи – это является основополагающим условием для сохранения психологического покоя курицы.
Оборудование для подачи корма
Емкость для обновления припаса пищи может быть приобретена в готовом виде или изготовлена собственными силами. Для этого следует применить листовую сталь, которой придают конфигурацию желоба, водопроводные ПВХ-трубы, разрезанные на две части и оборудованные пробками с обоих краев.
Монтаж осуществляется к пруткам на уровень ниже приспособления для поения, что дает возможность сохранять воду чистой, без попадания в нее кормов.
Местоположение должно быть на лицевой стене клетки выше уровня яйцесборника на 10-15 см. Для сопряжения с остовом применяются самонарезающие шурупы и покрытая цинком проволока.
Поилка
Создание приспособления для поения должно предусматривать маневренность сооружения, чтобы заводчик обладал возможностью не только доливать свежую воду, но и систематически мыть лоток. Желательно применять ниппельный способ поения птицы.
Своими силами сделанная поилка имеет конфигурацию желоба и изготавливается из белой жести либо пластмассовой тары. Местоположение приспособления – над кормушкой, на комфортном для птицы уровне.
Свет
Для оптимальной яйценоскости требуется не только здоровое питание, но и качественное освещение.
Долгота дня должна составлять 14-17 часов. В зимнюю пору это достигается только посредством искусственного освещения.
В целях сбережения электрической энергии эксплуатируются диодные либо сохраняющие энергию лампочки.
Распределять их требуется так, чтобы свет в куриной клетке был размеренным. Если приобщить к конструкции регулятор выдержки времени либо фотодатчик, можно отладить его автоматическое включение и отключение. Инсталлировать источники света нужно так, чтобы до них сохранялась дистанция. Абажуры должны быть прочными, чтобы куры не смогли их испортить.
Где разместить?
Предстоящее место монтажа клеток обязано соответствовать ряду критериев, важных для комфортабельного и результативного разведения пернатых:
- целевое назначение строения – поселение птиц вдали от других животных;
- отопительная система, готовая выдерживать требуемый для несения яиц температурный режим: не меньше 22 градусов тепла;
- система вентилирования;
- оборудование вспомогательным источником освещения, увеличивающего долготу дня до 16 часов.

Всякие девиации в какую-нибудь сторону от рекомендованных условий повлекут за собой весьма суровые последствия: падение производительности кур-несушек и формирование заболеваний.
Клетка является удобным решением разведения кур. Создать ее можно из легкодоступных стройматериалов. Однако подобный способ содержания пернатых не безупречен – требуется давать им свежую растительность и небиологические витамины. Также необходимо грамотно сбалансировать площадь сооружения исходя из поголовья.
Подробнее смотрите далее.
как сделать своими руками? Размеры и чертежи.
Как сделать клеточную батарею?Клетки для кур-несушек изготавливает своими руками основная составляющая фермеров по причине многофункциональности и несложности сооружения. Имеется две базовые модификации: с твердым настилом и с яйцесборником. Второй вариант проблематичнее в создании, но комфортнее в обслуживании. Кроме того, в клетках должны располагаться светильники и оборудование для подачи корма. Освещение требуется с целью удлинения срока несения яиц (как только длительность дня станет короче).
Особенности
Содержание кур на яйца является распространенной деятельностью личного подсобного хозяйства. Как показывает практика, клетки для кур-несушек являются недорогим и самым удачным решением для подобной деятельности. Это обусловлено:
- перспективой непрестанного контроля птицы;
- компактной локализацией кур;
- комфортным сбором яиц;
- определенной последовательностью кормления и ухода.

Однако не любая клетка сгодится для разведения птиц в домашней обстановке – традиционные строения для проживания бройлеров и цыплят не пригодны для качественного сбора яиц.
В связи с этим спроектированы специализированные клетки для кур-несушек, которые дают возможность птице ощущать себя комфортно, а владельцу – иметь неплохой доход. Существует два способа получения требуемого устройства:
- приобрести клетку в специализированной торговой точке;
- изготовить клетку своими руками.
Первый способ в меньшей степени трудозатратный, однако является наиболее дорогостоящим.
В связи с этим многие заводчики птицы останавливают свой выбор на самодельных конструкциях. Изготовить клетку для кур-несушек самостоятельно – это относительно легко и быстро.
Почти любой, обладая элементарными навыками и подручными материалами, в силах выполнить все требуемые процессы, используя разработанные чертежи и изображения.
Как выбрать?
Выбор клетки осуществляется с учетом самых разнообразных факторов, речь о которых пойдет ниже.
- Ключевым из них является масштаб хозяйства. Для десяти несушек гораздо разумнее устроить два гнезда, чем содержать их в клетке. Если же пернатых больше, а возможности вольного выгула при любых условиях не имеется, отдавать предпочтение стоит содержанию их в клетках.
- Следующий фактор – материал изготовления. Металлические материалы значительно долговечнее и надежнее, если только практиковать металл, покрытый цинком.
Из древесины клетку создать, естественно, легче. Но она не до такой степени крепка и для многоуровневых сооружений, например, не подходит.
- Численность экземпляров. Клетки для одного экземпляра, как правило, применяются при выращивании пород, где имеет большое значение прослеживать принадлежность яиц. Для яйценосных кур особенно востребованными считаются клетки на 4-5 экземпляров. При значительном хозяйстве практикуются самые большие сооружения (на 7 экземпляров) и размещаются ярусами.
- Концепция. Клетки бывают транспортируемыми и статичными. Статичные инсталлируются внутри помещения и не перемещаются. Переносные варианты оснащаются снаряжением для переноски и в летний период выносятся на улицу. Даже при отсутствии вольного выгула нахождение на свежем воздухе и на солнце делает птиц более здоровыми.

- Способ установки. В рядовых ситуациях клетки помещаются на стойки. Дистанция от сооружения до пола обусловливается комфортом. Настенная установка практикуется только тогда, когда забор является переборкой, поскольку несущие стенки в зимнее время чересчур сильно выстывают. Подвесная версия попадается реже всего – подобный способ упрощает уборочные мероприятия в помещении, однако он наиболее сложен в реализации.
Ярусные сооружения применяются обычно в больших хозяйствах, где необходимо поместить наибольшее число кур на малой площади. Эта модификация неразборная и представляет собой целостный остов с клетками и поддонниками, которые установлены на определенной дистанции друг от друга.
При эксплуатации клеточной батареи для разведения несушек очень важно обеспечить необходимую освещенность.
Не следует допускать темных либо чрезмерно освещенных мест.
В больших хозяйствах часто практикуется освещение разного спектра. Как видно из практики, ротация желтого, оранжевого, красного цветов, а также градационное включение и выключение освещения, симулирующее восход и заход, позитивно воздействует на продуктивность несушек.
Размеры и форма
Чтобы вычисления были правильными, необходимо принимать во внимание размеры птицы, которую предполагается содержать.
- Яичная. В подобном варианте клетку не следует делать чрезмерно высокой, так как размеры такой курицы не очень большие.
Считается, что одной птице необходимо обособить пространство от 20 до 50 см2. - Мясо-яичная. Экземпляры пород мясо-яичного направления характеризуются большими размерами, в связи с чем на одну особь понадобится обособить больше места – приблизительно 80-90 кв. см.
При расчетах параметров клетки необходимо также принимать во внимание численность поголовья, так как чрезвычайно важно выдержать соотношение по площади и предотвратить в будущем чрезмерную тесноту. Например, по численности голов клетки могут быть:
- для одной курочки – 50x50x65 см;
- для 2-3 несушек – 60x100x45 см;
- для 4-5 несушек – 60x120x50 см;
- для 5-7 несушек – 70x150x65 см.
Материалы
Главными условиями при налаживании клеточного разведения кур является безопасность и соответствие требованиям гигиены.
Готовая клетка обязана быть приспособлена для очистки и санобработки. Кроме того, она должна исключать любые травмы птиц при использовании. Необходимо планировать свободное пространство таким образом, чтобы была оптимальной проницаемость света и воздушных масс.
Остов клетки изготавливается из деревянного бруска либо металлического профилированного материала. Стены выполняются из материала, покрытого цинком, либо из некорродирующей сетки. Для области крепежа поилок и кормушек голова курицы должна свободно проходить сквозь отверстия. Пол имеет необходимость в сетке с небольшим сечением, чтобы не затруднять передвижение птицы.
Потребуется следующий инструмент:
- шуруповерт;
- угловая шлифовальная машинка;
- пила;
- карандаш;
- рулетка, угольник и уровень.

Если конструкция будет железной, понадобится электросварочный агрегат. Приготовив все исходные материалы и инструментарий, можно приступать к созданию сооружения.
Как сделать?
Исходя из потенциалов хозяина фермы и задач выращивания кур, клетки могут быть различными. Их можно ориентировочно поделить на два ключевых типа.
- С подстилкой. В подобных конструкциях полы сооружаются глухими и застилаются соломой либо стружкой.
- С косым настилом и яйцесборником. Настил выполняется сдвоенным, верхний уровень сооружается решетчатым и обладает наклоном. Нижний – глухой и оборудован выдвигающимся приспособлением. Конструкция дает возможность поддерживать сухость и чистоту. Яйца в этом случае не попадают под птицу либо в гнездо, а немедленно скатываются вниз в желобок.
Такая конструкция клетки считается идеальной, так как позволяет свести к минимуму время контакта курицы с яйцом.
Каждую из этих модификаций можно смонтировать своими силами в домашней обстановке. Иной раз клетки сооружаются групповыми для 7-10 экземпляров (гораздо больше в солидных птицехозяйствах). При значительном птичьем поголовье подойдет клеточная батарея (агрегат из клеток). Она представляет собой клетки, состоящие из нескольких ярусов и рядов.
- Прежде чем приступить к работе, необходимо побеспокоиться о чертеже приспособления. Изначально надлежит скомпоновать схему всего сооружения и изобразить ключевые размеры. Значительно проще применить готовые параметры, которые были разработаны специалистами.
- Остов клетки изготавливается, как правило, из древесины, так как она в большей степени является доступным и экологически чистым материалом. Вместо бруса, можно применять железные уголки либо профиль под гипсокартон. В такой ситуации потребуется дополнительный инструмент – электросварочный аппарат.

- Выполняется разметка и разрезание материала для остова. Приготовленные бруски 40х40 мм необходимо разрезать ножовкой либо электрическим лобзиком по чертежу. Торцевые поверхности зачищаются наждачной бумагой.
- Посредством покрытых цинком уголков и саморезов производится сборка каркаса. Кроме того, можно упрочить его с помощью фанерных косынок по боковым стенам. Для устройства нижнего поддонника монтируется решетчатый настил из бруска 20×40 мм. Из такого же бруска изготавливается остов дверцы. Если клетка предназначена для перевозки, то на ножки устанавливаются колесики для мебели.
- Если остов собирается из металлического профилированного материала, то готовые элементы соединяются самонарезающими шурупами по металлу, а профильная трубка или уголок – посредством сварки.
- Изготавливается сетчатый пол: режется стальная сетка с маленькой ячейкой по эскизу, ее переднюю кромку необходимо согнуть в виде желоба.
Для усиления пола можно изготовить горизонтальные опоры из бруса 20×40 мм с промежутком между ними не меньше 20 см. Брус необходимо обработать антисептическим средством, например, известью либо олифой. Сетка прикрепляется к брусу посредством «саморезов-клопов». - Задняя и торцовая стена обтягивается сеткой, выполненной из металла с маленькой ячейкой, фиксируется «саморезами-клопами». Чтобы исключить лишние манипуляции с разрезанием материала, можно согнуть торцовые стены из одного фрагмента сетки.
- Лицевая стена-дверца покрывается сеткой 50×50 мм, фиксируется саморезами. Желательно сделать дверцу откидывающейся – при ширине 1 м раскрывающаяся дверка будет не очень комфортна. Для блокирования дверцы устанавливаются щеколды.
- Кровля клетки изготавливается из решетки, ориентированно-стружечной плиты либо влагоустойчивой фанеры. Фиксируется посредством саморезов.
- Из оцинковки изготавливается лоток-поддонник по габаритам днища клетки.
Лицевая его кромка отгибается в форме ручки. Располагается он на настиле из бруска.
Сооружения с яйцесборником
Устройство дома для несушек начинается со сборки скелета. Желательно выполнить его из древесины либо алюминиевого профилированного материала.
Если в хозяйстве имеется электросварочный агрегат, то остов можно изготовить из железных трубок либо уголков.
Чтобы сделать деревянную основу, подготавливается брусок 40х40 мм. Располагается он по размерам, отмеченным в чертеже. По отметкам он разрезается ножовкой, а затем связывается посредством саморезов. Дальнейшее сооружение клетки для кур выглядит так, как описано ниже.
- Изготавливается нижний поддонник, дверца. Остов желательно выполнить из бруска 20х40 мм.

- Выполняются полы из стальной сетки. Она разрезается по размерам в эскизе, а кромки загибаются для создания конструкции в виде лотка. Пол выполняется с добавочными поперечинами из этого же бруска (20×40 мм).
Монтаж пола к остову осуществляется под углом 5-7 градусов. Такое ухищрение оказывает содействие комфортному сбору яиц, которые будут скатываться к специализированному желобу, приколоченному к лицевой части. Эта методика дает возможность добиться 100% целостности продукта, так как у курицы не будет возможности раздавить либо клюнуть яйцо.
- Сетка фиксируется посредством саморезов отдельно на каждой стене либо же полностью, загибая ее по углам самодельной коробки.
- На дверку крепится сетка, навесы и засовы.

- Окончательным процессом постройки станет установка лотка для сбора экскрементов. Изготавливается он из покрытого цинком листа по параметрам, обозначенным в чертеже клетки для кур-несушек. Он монтируется на направляющие из древесины, чтобы очистка в дальнейшем была комфортной.
Клеточные батареи (агрегат из клеток)
Состоящие из секций сооружения, как правило, имеют три яруса. Создаются исключительно из металлического профилированного материала и сетки, поскольку обязаны переносить приличную нагрузку. В большинстве своем агрегаты из клеток покупаются готовыми, потому что при создании необходимы сварочные мероприятия.
Многоуровневая железная клетка для кур-несушек является оптимальным решением для крупных хозяйств.
Преимущество готовой конструкции заключается еще и в том, что при весьма больших масштабах агрегата его можно оснастить системами автоматической водоподачи и кормов, что значительно упрощает работу фермера.
Как обустроить?
По той причине, что содержание в клетке сопряжено с ограничением активности пернатых, надлежит уделить внимание грамотному обустройству пунктов доступа к еде и питью.
Птица должна без труда дотягиваться до пищи – это является основополагающим условием для сохранения психологического покоя курицы.
Оборудование для подачи корма
Емкость для обновления припаса пищи может быть приобретена в готовом виде или изготовлена собственными силами. Для этого следует применить листовую сталь, которой придают конфигурацию желоба, водопроводные ПВХ-трубы, разрезанные на две части и оборудованные пробками с обоих краев.
Монтаж осуществляется к пруткам на уровень ниже приспособления для поения, что дает возможность сохранять воду чистой, без попадания в нее кормов.
Местоположение должно быть на лицевой стене клетки выше уровня яйцесборника на 10-15 см. Для сопряжения с остовом применяются самонарезающие шурупы и покрытая цинком проволока.
Поилка
Создание приспособления для поения должно предусматривать маневренность сооружения, чтобы заводчик обладал возможностью не только доливать свежую воду, но и систематически мыть лоток. Желательно применять ниппельный способ поения птицы.
Своими силами сделанная поилка имеет конфигурацию желоба и изготавливается из белой жести либо пластмассовой тары. Местоположение приспособления – над кормушкой, на комфортном для птицы уровне.
Свет
Для оптимальной яйценоскости требуется не только здоровое питание, но и качественное освещение.
Долгота дня должна составлять 14-17 часов. В зимнюю пору это достигается только посредством искусственного освещения.
В целях сбережения электрической энергии эксплуатируются диодные либо сохраняющие энергию лампочки.
Распределять их требуется так, чтобы свет в куриной клетке был размеренным. Если приобщить к конструкции регулятор выдержки времени либо фотодатчик, можно отладить его автоматическое включение и отключение. Инсталлировать источники света нужно так, чтобы до них сохранялась дистанция. Абажуры должны быть прочными, чтобы куры не смогли их испортить.
Где разместить?
Предстоящее место монтажа клеток обязано соответствовать ряду критериев, важных для комфортабельного и результативного разведения пернатых:
- целевое назначение строения – поселение птиц вдали от других животных;
- отопительная система, готовая выдерживать требуемый для несения яиц температурный режим: не меньше 22 градусов тепла;
- система вентилирования;
- оборудование вспомогательным источником освещения, увеличивающего долготу дня до 16 часов.

Всякие девиации в какую-нибудь сторону от рекомендованных условий повлекут за собой весьма суровые последствия: падение производительности кур-несушек и формирование заболеваний.
Клетка является удобным решением разведения кур. Создать ее можно из легкодоступных стройматериалов. Однако подобный способ содержания пернатых не безупречен – требуется давать им свежую растительность и небиологические витамины. Также необходимо грамотно сбалансировать площадь сооружения исходя из поголовья.
Подробнее смотрите далее.
как сделать своими руками? Размеры и чертежи.
Как сделать клеточную батарею?Клетки для кур-несушек изготавливает своими руками основная составляющая фермеров по причине многофункциональности и несложности сооружения. Имеется две базовые модификации: с твердым настилом и с яйцесборником. Второй вариант проблематичнее в создании, но комфортнее в обслуживании. Кроме того, в клетках должны располагаться светильники и оборудование для подачи корма. Освещение требуется с целью удлинения срока несения яиц (как только длительность дня станет короче).
Особенности
Содержание кур на яйца является распространенной деятельностью личного подсобного хозяйства. Как показывает практика, клетки для кур-несушек являются недорогим и самым удачным решением для подобной деятельности. Это обусловлено:
- перспективой непрестанного контроля птицы;
- компактной локализацией кур;
- комфортным сбором яиц;
- определенной последовательностью кормления и ухода.

Однако не любая клетка сгодится для разведения птиц в домашней обстановке – традиционные строения для проживания бройлеров и цыплят не пригодны для качественного сбора яиц.
В связи с этим спроектированы специализированные клетки для кур-несушек, которые дают возможность птице ощущать себя комфортно, а владельцу – иметь неплохой доход. Существует два способа получения требуемого устройства:
- приобрести клетку в специализированной торговой точке;
- изготовить клетку своими руками.
Первый способ в меньшей степени трудозатратный, однако является наиболее дорогостоящим.
В связи с этим многие заводчики птицы останавливают свой выбор на самодельных конструкциях. Изготовить клетку для кур-несушек самостоятельно – это относительно легко и быстро.
Почти любой, обладая элементарными навыками и подручными материалами, в силах выполнить все требуемые процессы, используя разработанные чертежи и изображения.
Как выбрать?
Выбор клетки осуществляется с учетом самых разнообразных факторов, речь о которых пойдет ниже.
- Ключевым из них является масштаб хозяйства. Для десяти несушек гораздо разумнее устроить два гнезда, чем содержать их в клетке. Если же пернатых больше, а возможности вольного выгула при любых условиях не имеется, отдавать предпочтение стоит содержанию их в клетках.
- Следующий фактор – материал изготовления. Металлические материалы значительно долговечнее и надежнее, если только практиковать металл, покрытый цинком.
Из древесины клетку создать, естественно, легче. Но она не до такой степени крепка и для многоуровневых сооружений, например, не подходит.
- Численность экземпляров. Клетки для одного экземпляра, как правило, применяются при выращивании пород, где имеет большое значение прослеживать принадлежность яиц. Для яйценосных кур особенно востребованными считаются клетки на 4-5 экземпляров. При значительном хозяйстве практикуются самые большие сооружения (на 7 экземпляров) и размещаются ярусами.
- Концепция. Клетки бывают транспортируемыми и статичными. Статичные инсталлируются внутри помещения и не перемещаются. Переносные варианты оснащаются снаряжением для переноски и в летний период выносятся на улицу. Даже при отсутствии вольного выгула нахождение на свежем воздухе и на солнце делает птиц более здоровыми.

- Способ установки. В рядовых ситуациях клетки помещаются на стойки. Дистанция от сооружения до пола обусловливается комфортом. Настенная установка практикуется только тогда, когда забор является переборкой, поскольку несущие стенки в зимнее время чересчур сильно выстывают. Подвесная версия попадается реже всего – подобный способ упрощает уборочные мероприятия в помещении, однако он наиболее сложен в реализации.
Ярусные сооружения применяются обычно в больших хозяйствах, где необходимо поместить наибольшее число кур на малой площади. Эта модификация неразборная и представляет собой целостный остов с клетками и поддонниками, которые установлены на определенной дистанции друг от друга.
При эксплуатации клеточной батареи для разведения несушек очень важно обеспечить необходимую освещенность.
Не следует допускать темных либо чрезмерно освещенных мест.
В больших хозяйствах часто практикуется освещение разного спектра. Как видно из практики, ротация желтого, оранжевого, красного цветов, а также градационное включение и выключение освещения, симулирующее восход и заход, позитивно воздействует на продуктивность несушек.
Размеры и форма
Чтобы вычисления были правильными, необходимо принимать во внимание размеры птицы, которую предполагается содержать.
- Яичная. В подобном варианте клетку не следует делать чрезмерно высокой, так как размеры такой курицы не очень большие.
Считается, что одной птице необходимо обособить пространство от 20 до 50 см2. - Мясо-яичная. Экземпляры пород мясо-яичного направления характеризуются большими размерами, в связи с чем на одну особь понадобится обособить больше места – приблизительно 80-90 кв. см.
При расчетах параметров клетки необходимо также принимать во внимание численность поголовья, так как чрезвычайно важно выдержать соотношение по площади и предотвратить в будущем чрезмерную тесноту. Например, по численности голов клетки могут быть:
- для одной курочки – 50x50x65 см;
- для 2-3 несушек – 60x100x45 см;
- для 4-5 несушек – 60x120x50 см;
- для 5-7 несушек – 70x150x65 см.
Материалы
Главными условиями при налаживании клеточного разведения кур является безопасность и соответствие требованиям гигиены.
Готовая клетка обязана быть приспособлена для очистки и санобработки. Кроме того, она должна исключать любые травмы птиц при использовании. Необходимо планировать свободное пространство таким образом, чтобы была оптимальной проницаемость света и воздушных масс.
Остов клетки изготавливается из деревянного бруска либо металлического профилированного материала. Стены выполняются из материала, покрытого цинком, либо из некорродирующей сетки. Для области крепежа поилок и кормушек голова курицы должна свободно проходить сквозь отверстия. Пол имеет необходимость в сетке с небольшим сечением, чтобы не затруднять передвижение птицы.
Потребуется следующий инструмент:
- шуруповерт;
- угловая шлифовальная машинка;
- пила;
- карандаш;
- рулетка, угольник и уровень.

Если конструкция будет железной, понадобится электросварочный агрегат. Приготовив все исходные материалы и инструментарий, можно приступать к созданию сооружения.
Как сделать?
Исходя из потенциалов хозяина фермы и задач выращивания кур, клетки могут быть различными. Их можно ориентировочно поделить на два ключевых типа.
- С подстилкой. В подобных конструкциях полы сооружаются глухими и застилаются соломой либо стружкой.
- С косым настилом и яйцесборником. Настил выполняется сдвоенным, верхний уровень сооружается решетчатым и обладает наклоном. Нижний – глухой и оборудован выдвигающимся приспособлением. Конструкция дает возможность поддерживать сухость и чистоту. Яйца в этом случае не попадают под птицу либо в гнездо, а немедленно скатываются вниз в желобок.
Такая конструкция клетки считается идеальной, так как позволяет свести к минимуму время контакта курицы с яйцом.
Каждую из этих модификаций можно смонтировать своими силами в домашней обстановке. Иной раз клетки сооружаются групповыми для 7-10 экземпляров (гораздо больше в солидных птицехозяйствах). При значительном птичьем поголовье подойдет клеточная батарея (агрегат из клеток). Она представляет собой клетки, состоящие из нескольких ярусов и рядов.
- Прежде чем приступить к работе, необходимо побеспокоиться о чертеже приспособления. Изначально надлежит скомпоновать схему всего сооружения и изобразить ключевые размеры. Значительно проще применить готовые параметры, которые были разработаны специалистами.
- Остов клетки изготавливается, как правило, из древесины, так как она в большей степени является доступным и экологически чистым материалом. Вместо бруса, можно применять железные уголки либо профиль под гипсокартон. В такой ситуации потребуется дополнительный инструмент – электросварочный аппарат.

- Выполняется разметка и разрезание материала для остова. Приготовленные бруски 40х40 мм необходимо разрезать ножовкой либо электрическим лобзиком по чертежу. Торцевые поверхности зачищаются наждачной бумагой.
- Посредством покрытых цинком уголков и саморезов производится сборка каркаса. Кроме того, можно упрочить его с помощью фанерных косынок по боковым стенам. Для устройства нижнего поддонника монтируется решетчатый настил из бруска 20×40 мм. Из такого же бруска изготавливается остов дверцы. Если клетка предназначена для перевозки, то на ножки устанавливаются колесики для мебели.
- Если остов собирается из металлического профилированного материала, то готовые элементы соединяются самонарезающими шурупами по металлу, а профильная трубка или уголок – посредством сварки.
- Изготавливается сетчатый пол: режется стальная сетка с маленькой ячейкой по эскизу, ее переднюю кромку необходимо согнуть в виде желоба.
Для усиления пола можно изготовить горизонтальные опоры из бруса 20×40 мм с промежутком между ними не меньше 20 см. Брус необходимо обработать антисептическим средством, например, известью либо олифой. Сетка прикрепляется к брусу посредством «саморезов-клопов». - Задняя и торцовая стена обтягивается сеткой, выполненной из металла с маленькой ячейкой, фиксируется «саморезами-клопами». Чтобы исключить лишние манипуляции с разрезанием материала, можно согнуть торцовые стены из одного фрагмента сетки.
- Лицевая стена-дверца покрывается сеткой 50×50 мм, фиксируется саморезами. Желательно сделать дверцу откидывающейся – при ширине 1 м раскрывающаяся дверка будет не очень комфортна. Для блокирования дверцы устанавливаются щеколды.
- Кровля клетки изготавливается из решетки, ориентированно-стружечной плиты либо влагоустойчивой фанеры. Фиксируется посредством саморезов.
- Из оцинковки изготавливается лоток-поддонник по габаритам днища клетки.
Лицевая его кромка отгибается в форме ручки. Располагается он на настиле из бруска.
Сооружения с яйцесборником
Устройство дома для несушек начинается со сборки скелета. Желательно выполнить его из древесины либо алюминиевого профилированного материала.
Если в хозяйстве имеется электросварочный агрегат, то остов можно изготовить из железных трубок либо уголков.
Чтобы сделать деревянную основу, подготавливается брусок 40х40 мм. Располагается он по размерам, отмеченным в чертеже. По отметкам он разрезается ножовкой, а затем связывается посредством саморезов. Дальнейшее сооружение клетки для кур выглядит так, как описано ниже.
- Изготавливается нижний поддонник, дверца. Остов желательно выполнить из бруска 20х40 мм.

- Выполняются полы из стальной сетки. Она разрезается по размерам в эскизе, а кромки загибаются для создания конструкции в виде лотка. Пол выполняется с добавочными поперечинами из этого же бруска (20×40 мм).
Монтаж пола к остову осуществляется под углом 5-7 градусов. Такое ухищрение оказывает содействие комфортному сбору яиц, которые будут скатываться к специализированному желобу, приколоченному к лицевой части. Эта методика дает возможность добиться 100% целостности продукта, так как у курицы не будет возможности раздавить либо клюнуть яйцо.
- Сетка фиксируется посредством саморезов отдельно на каждой стене либо же полностью, загибая ее по углам самодельной коробки.
- На дверку крепится сетка, навесы и засовы.

- Окончательным процессом постройки станет установка лотка для сбора экскрементов. Изготавливается он из покрытого цинком листа по параметрам, обозначенным в чертеже клетки для кур-несушек. Он монтируется на направляющие из древесины, чтобы очистка в дальнейшем была комфортной.
Клеточные батареи (агрегат из клеток)
Состоящие из секций сооружения, как правило, имеют три яруса. Создаются исключительно из металлического профилированного материала и сетки, поскольку обязаны переносить приличную нагрузку. В большинстве своем агрегаты из клеток покупаются готовыми, потому что при создании необходимы сварочные мероприятия.
Многоуровневая железная клетка для кур-несушек является оптимальным решением для крупных хозяйств.
Преимущество готовой конструкции заключается еще и в том, что при весьма больших масштабах агрегата его можно оснастить системами автоматической водоподачи и кормов, что значительно упрощает работу фермера.
Как обустроить?
По той причине, что содержание в клетке сопряжено с ограничением активности пернатых, надлежит уделить внимание грамотному обустройству пунктов доступа к еде и питью.
Птица должна без труда дотягиваться до пищи – это является основополагающим условием для сохранения психологического покоя курицы.
Оборудование для подачи корма
Емкость для обновления припаса пищи может быть приобретена в готовом виде или изготовлена собственными силами. Для этого следует применить листовую сталь, которой придают конфигурацию желоба, водопроводные ПВХ-трубы, разрезанные на две части и оборудованные пробками с обоих краев.
Монтаж осуществляется к пруткам на уровень ниже приспособления для поения, что дает возможность сохранять воду чистой, без попадания в нее кормов.
Местоположение должно быть на лицевой стене клетки выше уровня яйцесборника на 10-15 см. Для сопряжения с остовом применяются самонарезающие шурупы и покрытая цинком проволока.
Поилка
Создание приспособления для поения должно предусматривать маневренность сооружения, чтобы заводчик обладал возможностью не только доливать свежую воду, но и систематически мыть лоток. Желательно применять ниппельный способ поения птицы.
Своими силами сделанная поилка имеет конфигурацию желоба и изготавливается из белой жести либо пластмассовой тары. Местоположение приспособления – над кормушкой, на комфортном для птицы уровне.
Свет
Для оптимальной яйценоскости требуется не только здоровое питание, но и качественное освещение.
Долгота дня должна составлять 14-17 часов. В зимнюю пору это достигается только посредством искусственного освещения.
В целях сбережения электрической энергии эксплуатируются диодные либо сохраняющие энергию лампочки.
Распределять их требуется так, чтобы свет в куриной клетке был размеренным. Если приобщить к конструкции регулятор выдержки времени либо фотодатчик, можно отладить его автоматическое включение и отключение. Инсталлировать источники света нужно так, чтобы до них сохранялась дистанция. Абажуры должны быть прочными, чтобы куры не смогли их испортить.
Где разместить?
Предстоящее место монтажа клеток обязано соответствовать ряду критериев, важных для комфортабельного и результативного разведения пернатых:
- целевое назначение строения – поселение птиц вдали от других животных;
- отопительная система, готовая выдерживать требуемый для несения яиц температурный режим: не меньше 22 градусов тепла;
- система вентилирования;
- оборудование вспомогательным источником освещения, увеличивающего долготу дня до 16 часов.

Всякие девиации в какую-нибудь сторону от рекомендованных условий повлекут за собой весьма суровые последствия: падение производительности кур-несушек и формирование заболеваний.
Клетка является удобным решением разведения кур. Создать ее можно из легкодоступных стройматериалов. Однако подобный способ содержания пернатых не безупречен – требуется давать им свежую растительность и небиологические витамины. Также необходимо грамотно сбалансировать площадь сооружения исходя из поголовья.
Подробнее смотрите далее.
как сделать своими руками? Размеры и чертежи.
Как сделать клеточную батарею?Клетки для кур-несушек изготавливает своими руками основная составляющая фермеров по причине многофункциональности и несложности сооружения. Имеется две базовые модификации: с твердым настилом и с яйцесборником. Второй вариант проблематичнее в создании, но комфортнее в обслуживании. Кроме того, в клетках должны располагаться светильники и оборудование для подачи корма. Освещение требуется с целью удлинения срока несения яиц (как только длительность дня станет короче).
Особенности
Содержание кур на яйца является распространенной деятельностью личного подсобного хозяйства. Как показывает практика, клетки для кур-несушек являются недорогим и самым удачным решением для подобной деятельности. Это обусловлено:
- перспективой непрестанного контроля птицы;
- компактной локализацией кур;
- комфортным сбором яиц;
- определенной последовательностью кормления и ухода.

Однако не любая клетка сгодится для разведения птиц в домашней обстановке – традиционные строения для проживания бройлеров и цыплят не пригодны для качественного сбора яиц.
В связи с этим спроектированы специализированные клетки для кур-несушек, которые дают возможность птице ощущать себя комфортно, а владельцу – иметь неплохой доход. Существует два способа получения требуемого устройства:
- приобрести клетку в специализированной торговой точке;
- изготовить клетку своими руками.
Первый способ в меньшей степени трудозатратный, однако является наиболее дорогостоящим.
В связи с этим многие заводчики птицы останавливают свой выбор на самодельных конструкциях. Изготовить клетку для кур-несушек самостоятельно – это относительно легко и быстро.
Почти любой, обладая элементарными навыками и подручными материалами, в силах выполнить все требуемые процессы, используя разработанные чертежи и изображения.
Как выбрать?
Выбор клетки осуществляется с учетом самых разнообразных факторов, речь о которых пойдет ниже.
- Ключевым из них является масштаб хозяйства. Для десяти несушек гораздо разумнее устроить два гнезда, чем содержать их в клетке. Если же пернатых больше, а возможности вольного выгула при любых условиях не имеется, отдавать предпочтение стоит содержанию их в клетках.
- Следующий фактор – материал изготовления. Металлические материалы значительно долговечнее и надежнее, если только практиковать металл, покрытый цинком.
Из древесины клетку создать, естественно, легче. Но она не до такой степени крепка и для многоуровневых сооружений, например, не подходит.
- Численность экземпляров. Клетки для одного экземпляра, как правило, применяются при выращивании пород, где имеет большое значение прослеживать принадлежность яиц. Для яйценосных кур особенно востребованными считаются клетки на 4-5 экземпляров. При значительном хозяйстве практикуются самые большие сооружения (на 7 экземпляров) и размещаются ярусами.
- Концепция. Клетки бывают транспортируемыми и статичными. Статичные инсталлируются внутри помещения и не перемещаются. Переносные варианты оснащаются снаряжением для переноски и в летний период выносятся на улицу. Даже при отсутствии вольного выгула нахождение на свежем воздухе и на солнце делает птиц более здоровыми.

- Способ установки. В рядовых ситуациях клетки помещаются на стойки. Дистанция от сооружения до пола обусловливается комфортом. Настенная установка практикуется только тогда, когда забор является переборкой, поскольку несущие стенки в зимнее время чересчур сильно выстывают. Подвесная версия попадается реже всего – подобный способ упрощает уборочные мероприятия в помещении, однако он наиболее сложен в реализации.
Ярусные сооружения применяются обычно в больших хозяйствах, где необходимо поместить наибольшее число кур на малой площади. Эта модификация неразборная и представляет собой целостный остов с клетками и поддонниками, которые установлены на определенной дистанции друг от друга.
При эксплуатации клеточной батареи для разведения несушек очень важно обеспечить необходимую освещенность.
Не следует допускать темных либо чрезмерно освещенных мест.
В больших хозяйствах часто практикуется освещение разного спектра. Как видно из практики, ротация желтого, оранжевого, красного цветов, а также градационное включение и выключение освещения, симулирующее восход и заход, позитивно воздействует на продуктивность несушек.
Размеры и форма
Чтобы вычисления были правильными, необходимо принимать во внимание размеры птицы, которую предполагается содержать.
- Яичная. В подобном варианте клетку не следует делать чрезмерно высокой, так как размеры такой курицы не очень большие.
Считается, что одной птице необходимо обособить пространство от 20 до 50 см2. - Мясо-яичная. Экземпляры пород мясо-яичного направления характеризуются большими размерами, в связи с чем на одну особь понадобится обособить больше места – приблизительно 80-90 кв. см.
При расчетах параметров клетки необходимо также принимать во внимание численность поголовья, так как чрезвычайно важно выдержать соотношение по площади и предотвратить в будущем чрезмерную тесноту. Например, по численности голов клетки могут быть:
- для одной курочки – 50x50x65 см;
- для 2-3 несушек – 60x100x45 см;
- для 4-5 несушек – 60x120x50 см;
- для 5-7 несушек – 70x150x65 см.
Материалы
Главными условиями при налаживании клеточного разведения кур является безопасность и соответствие требованиям гигиены.
Готовая клетка обязана быть приспособлена для очистки и санобработки. Кроме того, она должна исключать любые травмы птиц при использовании. Необходимо планировать свободное пространство таким образом, чтобы была оптимальной проницаемость света и воздушных масс.
Остов клетки изготавливается из деревянного бруска либо металлического профилированного материала. Стены выполняются из материала, покрытого цинком, либо из некорродирующей сетки. Для области крепежа поилок и кормушек голова курицы должна свободно проходить сквозь отверстия. Пол имеет необходимость в сетке с небольшим сечением, чтобы не затруднять передвижение птицы.
Потребуется следующий инструмент:
- шуруповерт;
- угловая шлифовальная машинка;
- пила;
- карандаш;
- рулетка, угольник и уровень.

Если конструкция будет железной, понадобится электросварочный агрегат. Приготовив все исходные материалы и инструментарий, можно приступать к созданию сооружения.
Как сделать?
Исходя из потенциалов хозяина фермы и задач выращивания кур, клетки могут быть различными. Их можно ориентировочно поделить на два ключевых типа.
- С подстилкой. В подобных конструкциях полы сооружаются глухими и застилаются соломой либо стружкой.
- С косым настилом и яйцесборником. Настил выполняется сдвоенным, верхний уровень сооружается решетчатым и обладает наклоном. Нижний – глухой и оборудован выдвигающимся приспособлением. Конструкция дает возможность поддерживать сухость и чистоту. Яйца в этом случае не попадают под птицу либо в гнездо, а немедленно скатываются вниз в желобок.
Такая конструкция клетки считается идеальной, так как позволяет свести к минимуму время контакта курицы с яйцом.
Каждую из этих модификаций можно смонтировать своими силами в домашней обстановке. Иной раз клетки сооружаются групповыми для 7-10 экземпляров (гораздо больше в солидных птицехозяйствах). При значительном птичьем поголовье подойдет клеточная батарея (агрегат из клеток). Она представляет собой клетки, состоящие из нескольких ярусов и рядов.
- Прежде чем приступить к работе, необходимо побеспокоиться о чертеже приспособления. Изначально надлежит скомпоновать схему всего сооружения и изобразить ключевые размеры. Значительно проще применить готовые параметры, которые были разработаны специалистами.
- Остов клетки изготавливается, как правило, из древесины, так как она в большей степени является доступным и экологически чистым материалом. Вместо бруса, можно применять железные уголки либо профиль под гипсокартон. В такой ситуации потребуется дополнительный инструмент – электросварочный аппарат.

- Выполняется разметка и разрезание материала для остова. Приготовленные бруски 40х40 мм необходимо разрезать ножовкой либо электрическим лобзиком по чертежу. Торцевые поверхности зачищаются наждачной бумагой.
- Посредством покрытых цинком уголков и саморезов производится сборка каркаса. Кроме того, можно упрочить его с помощью фанерных косынок по боковым стенам. Для устройства нижнего поддонника монтируется решетчатый настил из бруска 20×40 мм. Из такого же бруска изготавливается остов дверцы. Если клетка предназначена для перевозки, то на ножки устанавливаются колесики для мебели.
- Если остов собирается из металлического профилированного материала, то готовые элементы соединяются самонарезающими шурупами по металлу, а профильная трубка или уголок – посредством сварки.
- Изготавливается сетчатый пол: режется стальная сетка с маленькой ячейкой по эскизу, ее переднюю кромку необходимо согнуть в виде желоба.
Для усиления пола можно изготовить горизонтальные опоры из бруса 20×40 мм с промежутком между ними не меньше 20 см. Брус необходимо обработать антисептическим средством, например, известью либо олифой. Сетка прикрепляется к брусу посредством «саморезов-клопов». - Задняя и торцовая стена обтягивается сеткой, выполненной из металла с маленькой ячейкой, фиксируется «саморезами-клопами». Чтобы исключить лишние манипуляции с разрезанием материала, можно согнуть торцовые стены из одного фрагмента сетки.
- Лицевая стена-дверца покрывается сеткой 50×50 мм, фиксируется саморезами. Желательно сделать дверцу откидывающейся – при ширине 1 м раскрывающаяся дверка будет не очень комфортна. Для блокирования дверцы устанавливаются щеколды.
- Кровля клетки изготавливается из решетки, ориентированно-стружечной плиты либо влагоустойчивой фанеры. Фиксируется посредством саморезов.
- Из оцинковки изготавливается лоток-поддонник по габаритам днища клетки.
Лицевая его кромка отгибается в форме ручки. Располагается он на настиле из бруска.
Сооружения с яйцесборником
Устройство дома для несушек начинается со сборки скелета. Желательно выполнить его из древесины либо алюминиевого профилированного материала.
Если в хозяйстве имеется электросварочный агрегат, то остов можно изготовить из железных трубок либо уголков.
Чтобы сделать деревянную основу, подготавливается брусок 40х40 мм. Располагается он по размерам, отмеченным в чертеже. По отметкам он разрезается ножовкой, а затем связывается посредством саморезов. Дальнейшее сооружение клетки для кур выглядит так, как описано ниже.
- Изготавливается нижний поддонник, дверца. Остов желательно выполнить из бруска 20х40 мм.

- Выполняются полы из стальной сетки. Она разрезается по размерам в эскизе, а кромки загибаются для создания конструкции в виде лотка. Пол выполняется с добавочными поперечинами из этого же бруска (20×40 мм).
Монтаж пола к остову осуществляется под углом 5-7 градусов. Такое ухищрение оказывает содействие комфортному сбору яиц, которые будут скатываться к специализированному желобу, приколоченному к лицевой части. Эта методика дает возможность добиться 100% целостности продукта, так как у курицы не будет возможности раздавить либо клюнуть яйцо.
- Сетка фиксируется посредством саморезов отдельно на каждой стене либо же полностью, загибая ее по углам самодельной коробки.
- На дверку крепится сетка, навесы и засовы.

- Окончательным процессом постройки станет установка лотка для сбора экскрементов. Изготавливается он из покрытого цинком листа по параметрам, обозначенным в чертеже клетки для кур-несушек. Он монтируется на направляющие из древесины, чтобы очистка в дальнейшем была комфортной.
Клеточные батареи (агрегат из клеток)
Состоящие из секций сооружения, как правило, имеют три яруса. Создаются исключительно из металлического профилированного материала и сетки, поскольку обязаны переносить приличную нагрузку. В большинстве своем агрегаты из клеток покупаются готовыми, потому что при создании необходимы сварочные мероприятия.
Многоуровневая железная клетка для кур-несушек является оптимальным решением для крупных хозяйств.
Преимущество готовой конструкции заключается еще и в том, что при весьма больших масштабах агрегата его можно оснастить системами автоматической водоподачи и кормов, что значительно упрощает работу фермера.
Как обустроить?
По той причине, что содержание в клетке сопряжено с ограничением активности пернатых, надлежит уделить внимание грамотному обустройству пунктов доступа к еде и питью.
Птица должна без труда дотягиваться до пищи – это является основополагающим условием для сохранения психологического покоя курицы.
Оборудование для подачи корма
Емкость для обновления припаса пищи может быть приобретена в готовом виде или изготовлена собственными силами. Для этого следует применить листовую сталь, которой придают конфигурацию желоба, водопроводные ПВХ-трубы, разрезанные на две части и оборудованные пробками с обоих краев.
Монтаж осуществляется к пруткам на уровень ниже приспособления для поения, что дает возможность сохранять воду чистой, без попадания в нее кормов.
Местоположение должно быть на лицевой стене клетки выше уровня яйцесборника на 10-15 см. Для сопряжения с остовом применяются самонарезающие шурупы и покрытая цинком проволока.
Поилка
Создание приспособления для поения должно предусматривать маневренность сооружения, чтобы заводчик обладал возможностью не только доливать свежую воду, но и систематически мыть лоток. Желательно применять ниппельный способ поения птицы.
Своими силами сделанная поилка имеет конфигурацию желоба и изготавливается из белой жести либо пластмассовой тары. Местоположение приспособления – над кормушкой, на комфортном для птицы уровне.
Свет
Для оптимальной яйценоскости требуется не только здоровое питание, но и качественное освещение.
Долгота дня должна составлять 14-17 часов. В зимнюю пору это достигается только посредством искусственного освещения.
В целях сбережения электрической энергии эксплуатируются диодные либо сохраняющие энергию лампочки.
Распределять их требуется так, чтобы свет в куриной клетке был размеренным. Если приобщить к конструкции регулятор выдержки времени либо фотодатчик, можно отладить его автоматическое включение и отключение. Инсталлировать источники света нужно так, чтобы до них сохранялась дистанция. Абажуры должны быть прочными, чтобы куры не смогли их испортить.
Где разместить?
Предстоящее место монтажа клеток обязано соответствовать ряду критериев, важных для комфортабельного и результативного разведения пернатых:
- целевое назначение строения – поселение птиц вдали от других животных;
- отопительная система, готовая выдерживать требуемый для несения яиц температурный режим: не меньше 22 градусов тепла;
- система вентилирования;
- оборудование вспомогательным источником освещения, увеличивающего долготу дня до 16 часов.

Всякие девиации в какую-нибудь сторону от рекомендованных условий повлекут за собой весьма суровые последствия: падение производительности кур-несушек и формирование заболеваний.
Клетка является удобным решением разведения кур. Создать ее можно из легкодоступных стройматериалов. Однако подобный способ содержания пернатых не безупречен – требуется давать им свежую растительность и небиологические витамины. Также необходимо грамотно сбалансировать площадь сооружения исходя из поголовья.
Подробнее смотрите далее.
как сделать своими руками? Размеры и чертежи.
Как сделать клеточную батарею?Клетки для кур-несушек изготавливает своими руками основная составляющая фермеров по причине многофункциональности и несложности сооружения. Имеется две базовые модификации: с твердым настилом и с яйцесборником. Второй вариант проблематичнее в создании, но комфортнее в обслуживании. Кроме того, в клетках должны располагаться светильники и оборудование для подачи корма. Освещение требуется с целью удлинения срока несения яиц (как только длительность дня станет короче).
Особенности
Содержание кур на яйца является распространенной деятельностью личного подсобного хозяйства. Как показывает практика, клетки для кур-несушек являются недорогим и самым удачным решением для подобной деятельности. Это обусловлено:
- перспективой непрестанного контроля птицы;
- компактной локализацией кур;
- комфортным сбором яиц;
- определенной последовательностью кормления и ухода.

Однако не любая клетка сгодится для разведения птиц в домашней обстановке – традиционные строения для проживания бройлеров и цыплят не пригодны для качественного сбора яиц.
В связи с этим спроектированы специализированные клетки для кур-несушек, которые дают возможность птице ощущать себя комфортно, а владельцу – иметь неплохой доход. Существует два способа получения требуемого устройства:
- приобрести клетку в специализированной торговой точке;
- изготовить клетку своими руками.
Первый способ в меньшей степени трудозатратный, однако является наиболее дорогостоящим.
В связи с этим многие заводчики птицы останавливают свой выбор на самодельных конструкциях. Изготовить клетку для кур-несушек самостоятельно – это относительно легко и быстро.
Почти любой, обладая элементарными навыками и подручными материалами, в силах выполнить все требуемые процессы, используя разработанные чертежи и изображения.
Как выбрать?
Выбор клетки осуществляется с учетом самых разнообразных факторов, речь о которых пойдет ниже.
- Ключевым из них является масштаб хозяйства. Для десяти несушек гораздо разумнее устроить два гнезда, чем содержать их в клетке. Если же пернатых больше, а возможности вольного выгула при любых условиях не имеется, отдавать предпочтение стоит содержанию их в клетках.
- Следующий фактор – материал изготовления. Металлические материалы значительно долговечнее и надежнее, если только практиковать металл, покрытый цинком.
Из древесины клетку создать, естественно, легче. Но она не до такой степени крепка и для многоуровневых сооружений, например, не подходит.
- Численность экземпляров. Клетки для одного экземпляра, как правило, применяются при выращивании пород, где имеет большое значение прослеживать принадлежность яиц. Для яйценосных кур особенно востребованными считаются клетки на 4-5 экземпляров. При значительном хозяйстве практикуются самые большие сооружения (на 7 экземпляров) и размещаются ярусами.
- Концепция. Клетки бывают транспортируемыми и статичными. Статичные инсталлируются внутри помещения и не перемещаются. Переносные варианты оснащаются снаряжением для переноски и в летний период выносятся на улицу. Даже при отсутствии вольного выгула нахождение на свежем воздухе и на солнце делает птиц более здоровыми.

- Способ установки. В рядовых ситуациях клетки помещаются на стойки. Дистанция от сооружения до пола обусловливается комфортом. Настенная установка практикуется только тогда, когда забор является переборкой, поскольку несущие стенки в зимнее время чересчур сильно выстывают. Подвесная версия попадается реже всего – подобный способ упрощает уборочные мероприятия в помещении, однако он наиболее сложен в реализации.
Ярусные сооружения применяются обычно в больших хозяйствах, где необходимо поместить наибольшее число кур на малой площади. Эта модификация неразборная и представляет собой целостный остов с клетками и поддонниками, которые установлены на определенной дистанции друг от друга.
При эксплуатации клеточной батареи для разведения несушек очень важно обеспечить необходимую освещенность.
Не следует допускать темных либо чрезмерно освещенных мест.
В больших хозяйствах часто практикуется освещение разного спектра. Как видно из практики, ротация желтого, оранжевого, красного цветов, а также градационное включение и выключение освещения, симулирующее восход и заход, позитивно воздействует на продуктивность несушек.
Размеры и форма
Чтобы вычисления были правильными, необходимо принимать во внимание размеры птицы, которую предполагается содержать.
- Яичная. В подобном варианте клетку не следует делать чрезмерно высокой, так как размеры такой курицы не очень большие.
Считается, что одной птице необходимо обособить пространство от 20 до 50 см2. - Мясо-яичная. Экземпляры пород мясо-яичного направления характеризуются большими размерами, в связи с чем на одну особь понадобится обособить больше места – приблизительно 80-90 кв. см.
При расчетах параметров клетки необходимо также принимать во внимание численность поголовья, так как чрезвычайно важно выдержать соотношение по площади и предотвратить в будущем чрезмерную тесноту. Например, по численности голов клетки могут быть:
- для одной курочки – 50x50x65 см;
- для 2-3 несушек – 60x100x45 см;
- для 4-5 несушек – 60x120x50 см;
- для 5-7 несушек – 70x150x65 см.
Материалы
Главными условиями при налаживании клеточного разведения кур является безопасность и соответствие требованиям гигиены.
Готовая клетка обязана быть приспособлена для очистки и санобработки. Кроме того, она должна исключать любые травмы птиц при использовании. Необходимо планировать свободное пространство таким образом, чтобы была оптимальной проницаемость света и воздушных масс.
Остов клетки изготавливается из деревянного бруска либо металлического профилированного материала. Стены выполняются из материала, покрытого цинком, либо из некорродирующей сетки. Для области крепежа поилок и кормушек голова курицы должна свободно проходить сквозь отверстия. Пол имеет необходимость в сетке с небольшим сечением, чтобы не затруднять передвижение птицы.
Потребуется следующий инструмент:
- шуруповерт;
- угловая шлифовальная машинка;
- пила;
- карандаш;
- рулетка, угольник и уровень.

Если конструкция будет железной, понадобится электросварочный агрегат. Приготовив все исходные материалы и инструментарий, можно приступать к созданию сооружения.
Как сделать?
Исходя из потенциалов хозяина фермы и задач выращивания кур, клетки могут быть различными. Их можно ориентировочно поделить на два ключевых типа.
- С подстилкой. В подобных конструкциях полы сооружаются глухими и застилаются соломой либо стружкой.
- С косым настилом и яйцесборником. Настил выполняется сдвоенным, верхний уровень сооружается решетчатым и обладает наклоном. Нижний – глухой и оборудован выдвигающимся приспособлением. Конструкция дает возможность поддерживать сухость и чистоту. Яйца в этом случае не попадают под птицу либо в гнездо, а немедленно скатываются вниз в желобок.
Такая конструкция клетки считается идеальной, так как позволяет свести к минимуму время контакта курицы с яйцом.
Каждую из этих модификаций можно смонтировать своими силами в домашней обстановке. Иной раз клетки сооружаются групповыми для 7-10 экземпляров (гораздо больше в солидных птицехозяйствах). При значительном птичьем поголовье подойдет клеточная батарея (агрегат из клеток). Она представляет собой клетки, состоящие из нескольких ярусов и рядов.
- Прежде чем приступить к работе, необходимо побеспокоиться о чертеже приспособления. Изначально надлежит скомпоновать схему всего сооружения и изобразить ключевые размеры. Значительно проще применить готовые параметры, которые были разработаны специалистами.
- Остов клетки изготавливается, как правило, из древесины, так как она в большей степени является доступным и экологически чистым материалом. Вместо бруса, можно применять железные уголки либо профиль под гипсокартон. В такой ситуации потребуется дополнительный инструмент – электросварочный аппарат.

- Выполняется разметка и разрезание материала для остова. Приготовленные бруски 40х40 мм необходимо разрезать ножовкой либо электрическим лобзиком по чертежу. Торцевые поверхности зачищаются наждачной бумагой.
- Посредством покрытых цинком уголков и саморезов производится сборка каркаса. Кроме того, можно упрочить его с помощью фанерных косынок по боковым стенам. Для устройства нижнего поддонника монтируется решетчатый настил из бруска 20×40 мм. Из такого же бруска изготавливается остов дверцы. Если клетка предназначена для перевозки, то на ножки устанавливаются колесики для мебели.
- Если остов собирается из металлического профилированного материала, то готовые элементы соединяются самонарезающими шурупами по металлу, а профильная трубка или уголок – посредством сварки.
- Изготавливается сетчатый пол: режется стальная сетка с маленькой ячейкой по эскизу, ее переднюю кромку необходимо согнуть в виде желоба.
Для усиления пола можно изготовить горизонтальные опоры из бруса 20×40 мм с промежутком между ними не меньше 20 см. Брус необходимо обработать антисептическим средством, например, известью либо олифой. Сетка прикрепляется к брусу посредством «саморезов-клопов». - Задняя и торцовая стена обтягивается сеткой, выполненной из металла с маленькой ячейкой, фиксируется «саморезами-клопами». Чтобы исключить лишние манипуляции с разрезанием материала, можно согнуть торцовые стены из одного фрагмента сетки.
- Лицевая стена-дверца покрывается сеткой 50×50 мм, фиксируется саморезами. Желательно сделать дверцу откидывающейся – при ширине 1 м раскрывающаяся дверка будет не очень комфортна. Для блокирования дверцы устанавливаются щеколды.
- Кровля клетки изготавливается из решетки, ориентированно-стружечной плиты либо влагоустойчивой фанеры. Фиксируется посредством саморезов.
- Из оцинковки изготавливается лоток-поддонник по габаритам днища клетки.
Лицевая его кромка отгибается в форме ручки. Располагается он на настиле из бруска.
Сооружения с яйцесборником
Устройство дома для несушек начинается со сборки скелета. Желательно выполнить его из древесины либо алюминиевого профилированного материала.
Если в хозяйстве имеется электросварочный агрегат, то остов можно изготовить из железных трубок либо уголков.
Чтобы сделать деревянную основу, подготавливается брусок 40х40 мм. Располагается он по размерам, отмеченным в чертеже. По отметкам он разрезается ножовкой, а затем связывается посредством саморезов. Дальнейшее сооружение клетки для кур выглядит так, как описано ниже.
- Изготавливается нижний поддонник, дверца. Остов желательно выполнить из бруска 20х40 мм.

- Выполняются полы из стальной сетки. Она разрезается по размерам в эскизе, а кромки загибаются для создания конструкции в виде лотка. Пол выполняется с добавочными поперечинами из этого же бруска (20×40 мм).
Монтаж пола к остову осуществляется под углом 5-7 градусов. Такое ухищрение оказывает содействие комфортному сбору яиц, которые будут скатываться к специализированному желобу, приколоченному к лицевой части. Эта методика дает возможность добиться 100% целостности продукта, так как у курицы не будет возможности раздавить либо клюнуть яйцо.
- Сетка фиксируется посредством саморезов отдельно на каждой стене либо же полностью, загибая ее по углам самодельной коробки.
- На дверку крепится сетка, навесы и засовы.

- Окончательным процессом постройки станет установка лотка для сбора экскрементов. Изготавливается он из покрытого цинком листа по параметрам, обозначенным в чертеже клетки для кур-несушек. Он монтируется на направляющие из древесины, чтобы очистка в дальнейшем была комфортной.
Клеточные батареи (агрегат из клеток)
Состоящие из секций сооружения, как правило, имеют три яруса. Создаются исключительно из металлического профилированного материала и сетки, поскольку обязаны переносить приличную нагрузку. В большинстве своем агрегаты из клеток покупаются готовыми, потому что при создании необходимы сварочные мероприятия.
Многоуровневая железная клетка для кур-несушек является оптимальным решением для крупных хозяйств.
Преимущество готовой конструкции заключается еще и в том, что при весьма больших масштабах агрегата его можно оснастить системами автоматической водоподачи и кормов, что значительно упрощает работу фермера.
Как обустроить?
По той причине, что содержание в клетке сопряжено с ограничением активности пернатых, надлежит уделить внимание грамотному обустройству пунктов доступа к еде и питью.
Птица должна без труда дотягиваться до пищи – это является основополагающим условием для сохранения психологического покоя курицы.
Оборудование для подачи корма
Емкость для обновления припаса пищи может быть приобретена в готовом виде или изготовлена собственными силами. Для этого следует применить листовую сталь, которой придают конфигурацию желоба, водопроводные ПВХ-трубы, разрезанные на две части и оборудованные пробками с обоих краев.
Монтаж осуществляется к пруткам на уровень ниже приспособления для поения, что дает возможность сохранять воду чистой, без попадания в нее кормов.
Местоположение должно быть на лицевой стене клетки выше уровня яйцесборника на 10-15 см. Для сопряжения с остовом применяются самонарезающие шурупы и покрытая цинком проволока.
Поилка
Создание приспособления для поения должно предусматривать маневренность сооружения, чтобы заводчик обладал возможностью не только доливать свежую воду, но и систематически мыть лоток. Желательно применять ниппельный способ поения птицы.
Своими силами сделанная поилка имеет конфигурацию желоба и изготавливается из белой жести либо пластмассовой тары. Местоположение приспособления – над кормушкой, на комфортном для птицы уровне.
Свет
Для оптимальной яйценоскости требуется не только здоровое питание, но и качественное освещение.
Долгота дня должна составлять 14-17 часов. В зимнюю пору это достигается только посредством искусственного освещения.
В целях сбережения электрической энергии эксплуатируются диодные либо сохраняющие энергию лампочки.
Распределять их требуется так, чтобы свет в куриной клетке был размеренным. Если приобщить к конструкции регулятор выдержки времени либо фотодатчик, можно отладить его автоматическое включение и отключение. Инсталлировать источники света нужно так, чтобы до них сохранялась дистанция. Абажуры должны быть прочными, чтобы куры не смогли их испортить.
Где разместить?
Предстоящее место монтажа клеток обязано соответствовать ряду критериев, важных для комфортабельного и результативного разведения пернатых:
- целевое назначение строения – поселение птиц вдали от других животных;
- отопительная система, готовая выдерживать требуемый для несения яиц температурный режим: не меньше 22 градусов тепла;
- система вентилирования;
- оборудование вспомогательным источником освещения, увеличивающего долготу дня до 16 часов.

Всякие девиации в какую-нибудь сторону от рекомендованных условий повлекут за собой весьма суровые последствия: падение производительности кур-несушек и формирование заболеваний.
Клетка является удобным решением разведения кур. Создать ее можно из легкодоступных стройматериалов. Однако подобный способ содержания пернатых не безупречен – требуется давать им свежую растительность и небиологические витамины. Также необходимо грамотно сбалансировать площадь сооружения исходя из поголовья.
Подробнее смотрите далее.
Клеточное оборудование для кур несушек цена
Хотите купить клеточное оборудование для кур несушек? В этой статье Вы можете узнать подробные и полезные информации: клеточное оборудование для кур несушек цена, какие клетки для кур несушек в наличии, клеточное содержание кур несушек, какие размеры клеток для несушек есть, какие оборудования для птицеводства можно делать на заказ из Китая.
Клеточное оборудование для кур несушек
Клеточное оборудование для кур несушек обычно используется в условиях частного фермерского подворья, дачных участков, загородных домов, фермерских хозяйств и больших птицефабрик или мини-птицефабрик для получения товарного яйца.
С приобретением данной оборудования для кур несушек у Вас появится возможность не только иметь дополнительный доход и экономию на корм, но и при этом получая огромное удовольствие от собственного труда, когда собирая яйца прямо перед клетками со желоба-яйцеприёмника.
Клетки для куриц несушек купить из Китая
Уточнить цену
Наши клетки для кур несушек с наклонным полом и яйцесборником, такие клетки предполагают пол, который делается решетчатой и имеет уклон на 7 градусов. Под нём можно оснащена лента пометоудаления. Такая конструкция позволяет сохранять чистоту и сухость в клетке, это поможет избавиться от вирусных заболеваний и в какой-то степени улучшить яйценоскость.
Вот конструкция нашей клетки для несушек. Если Вы хотите узнать клеточное оборудование для кур несушек цена, нажмите кнопку ниже изображения.
Стандартная конструкция клетки для кур несушек
Уточнить цену
Клеточное содержание кур несушек
Клеточное содержание кур несушек иммет огромные преимущества перед напольным содержании и является более эффективным и экономичным способом содержания кур несушек. Самое главное, содержание кур несушек в клетках позволяет обеспечить постоянное поддержание чистаты помещения для кур несушек, это очень важно, не только что поможет избавиться от большинства возможныж заболеваний, но и улучшить яйценоскость несушек.
Клеточное содержание кур несушек позволит Вам экономить Ваши деньги, корма и время. Приобретя оборудование для кур несушек вы поймете выражение: “Куры денег не клюют”. И так, Вам интересна клетоное оборудование для кур несушек цена?
Содержание кур несушек в клетках
Уточнить цену
Клеточное оборудование для кур несушек цена
Мы поставляем высококачественные клеточные батареи для кур несушек, сделаны из прочного материала.
Например, наши сетки для клеток металличесткие из стали нормы Q235, по технологии окраски, электростатическая окраска вводится в употребление производстве нашей оборудования для птицеводства. Этот метод имеет ряд преимуществ: прочная окраска, гладкая поверхность, устойчивость к коррозии и так далее. И в производственным процессе применение технологии электростатической окраски отвечает требованиям охраны окружающей среды. А расходы применения этой технологии меньше, чем расходы применеия других методов.
Клеточное оборудование для кур несушек на птицефабрике
Уточнить цену
Все оборудования для птицефабрик, в частности клетки для куриц несушек, клетки для выращивания бройлеров, брудеры для цыплят, изготовлены нашим собственным заводом, купить оборудование для птицефермы у нас не нужно платить дополнительный расход, и так клеточное оборудование для кур несушек цена невыкокая, доступная и выгодная. У нас столько клетки для кур несушек по разными размерам и параметрам, цены разные.
2
Узнать подробности
Клетки для кур несушек фото
Поставлю несколько фото здесь, клетки для кур несушек в наличии, узнать клеточное оборудование для кур несушек цена, получить конкретную информацию клетки для несушек, нажмите кнопку ниже изображения, пожалуйста. Мы обязательно отпишемся в ближайшее время.
Клетки для кур несушек
Уточнить цену
Клеточное оборудование для кур несушек птицефабрики
Уточнить цену
Клеточные батареи для кур несушек
Уточнить цену
Комплект клетчного оборудования для кур несушек 9CL(D)-4120
Комплект клеточного оборудования для кур несушек 9CL(D)-4120, это наша главная продукция, которая имеет хороший сбыт во всем мире. Кстати, прошлым летом клиент из Казахстана купил у нас целый комплект, он очень доволен, и через год он заказал другой комплект.
Комплект клетчного оборудования для кур несушек 9CL(D)-4120
Уточнить цену
Сейчас расскажу спецефикацию этой модели:
Клетка изготовлена из высококачественной оцинкованной стали.
И в батарее тоже применяются детали изоцинкованной стали, и так наше оборудование для кур несушек могут использоваться до 20 лет.
Кормление – система кормления, автоматическая раздача в кормушки из оцинкованного металла. Мобильная кормораздача обеспечивает наиболее эффективную подачу корма по всей батарее. Широкий фронт кормления позволяет производить равномерное кормление всей птицы.
Поение – система ниппельного поения. В каждой секции клетки оборудованы две ниппельные поилки, которыми могут пользоваться 7 кур несушек одновремнно.
Система ниппельного поения для кур
Уточнить цену
Сбор яйца – система сбора яиц, можно ручной (яйцо выкатывается из клетки под кормушку в лоток для сбора яйца) и автоматической. Если укомплектовать клеточное оборудование для кур несушек с системой собра яйц, то на лотоке для яйц лежит конвейерная лента, которая соединяет клеточные оборудования с автоматической системой сбора яйц.
Система сбора яиц
Уточнить цену
Удаление помета – система пометоудаления, которая позволяет быстро и без затруднений убрать навоз и избавить Ваш птичник от нежелательных запахов и поможет птиц избавиться от большинства заболеваний. Применение системы пометоудаления помогает обеспечить постоянное поддержание чистаты помещения для кур несушек.
Хотить сделать заказ или узнать клеточное оборудование для кур несушек цена, обращайтесь с нами, нажмите кнопку ниже изображения, отправьте нам собщение, мы отпишемся обязательно в самый ближайшее время.
Оборудования для птицеводства китай на заказ
У нас многоразные клетки для кур под заказ, например, клетки для кур несушек, клетки для выращивания бройлеров, брудер для цыплят и другие допонительные комплектации(система кормления, система ниппельного поения, система сбора яиц, система пометоудаления и система микроклимата).
Оптимальный вариант клетки для кур несушек
Уточнить цену
Если наши клетки для кур в наличии не подходят к вашиму птичнику, предлагаю два варианта.
Первый вариант, кликните кнопку ниже всякого изображения нашего сайта, напишите нам письмо и дать размеры Вашего птичника, и доказать нам какие клетки для кур Вы хотите, мы предложим оптимальный проект (бесплатно) для Вашего птичника. Второй вариант, Вы можете сами назначить размеры клетки (длина, ширина, высота клетки, даже диаметр проволоки), и заказать оборудования для птицеводства из Китая. В таком случае, клеточное оборудование для кур несушек цена пока не ясная, но обязательно доступная.
Заключение
Клеточное оборудование для кур несушек цена узнать очень просто, нажмите кнопку ниже изображения, отправьте нам собщение. И наши другие продукции тоже. Мы рады видеть вас в числе наших клиентов, и обязательно отпишемся в ближайшее время.
Клетки для бройлеров своими руками: как сделать в домашних условиях
Выращивание и содержание бройлеров дома – это очень выгодный процесс. При минимуме затрат вы сможете получить приличную денежную прибыль.
Для тех, кто хочет сэкономить еще больше, стоит обустроить клетку для птиц, воспользуясь собственными знаниями и подручными материалами.
Все ваши усилия обязательно окупятся, так как куры бройлеры, проживающие в комфортных условиях, намного быстрее набирают массу и меньше подвергаются заболеваниям.
Процесс расчета размеров самодельной клетки для бройлеров: площадь и высота
Если вы ранее этим не занимались, то процесс изготовления клетки для бройлеров должен начинается с того, что предстоит разобраться с инструкцией, которая и содержит определенные этапы по созданию удобного «жилища» для курей.
Итак, если вы хотите узнать как сделать клетку, то переходим к процессу изготовления чертежа будущей конструкции. Здесь необходимо расположить все габариты. Именно правильно составленный чертеж позволит понять требуемые объемы строительных материалов до начала конструирования.
Поэтому к этой части работы необходимо подходить более ответственно. Если у вас отсутствуют чертежные знания, то стоит сформировать примерную схему габаритов, чтобы хотя бы получить примерный расчет требуемых объемов строительных материалов.
Рекомендуем вам прочитать о разведении, содержании и уходе за индюками в домашних условиях в данном материале.
Далее можно переходить к непосредственному формированию клетки. Для этого стоит выполнить 6 стоек. Их размеры составляют 7х2 см, а длина каждой равняется 165 см. При помощи 11 реек стойки сформировать в каркас. Для этого нужно будет воспользоваться 6 рейками с сечением 3х2 см, 2 рейками с размерами 5х2 см, а также 3 рейками с сечением 10х2 см. У каждой используемой рейки должна быть длина 140 см.
После этого нужно переходить к созданию клетки, а точнее к изготовлению боковых стенок конструкции. Для этих целей стоит задействовать фанерные листы, размеры которой составляют 57,5х30,5 см. Для производства поддонов вам нужно будет подготовить металлические листы.
Читайте также о составе комбикорма для кур-несушек.
Размеры поддонов будут следующими:
- высота – 20 см;
- ширина – 67 см;
- длина – 30,5 см.
Для обустройства клетки вам понадобиться еще кормушка и поилка.
Их можно купить отдельно в магазине или выполнить, используя металлические пластины. Сегодня опытные птицеводы активно стали использовать автоматические ниппельные поилки. Благодаря им бройлеры всегда будут получать много свежей и чистой воды. Для фиксации кормушек используют кронштейны.
Теперь можно переходить к изготовлению открытой части клетки. В данном случае стоит задействовать сетку с широкими ячейками. Таким образом, птица сможет без проблем просовывать в них голову и доставать корм из кормушки. Если куры будут передвигаться по клетке, то на дно стоит прикрепить небольшого размера колесики. Кроме этого, сегодня большим спросом пользуются клетки с отсеками, где могут быть располагать 5-10 особей, 15-20 и 25-30. На основании этого размеры могут варьироваться от числа птенцов, которые вы будут содержать в своей клетке. Кроме этого, конструкции с отсеками позволяет выращивать отдельно цыплят.
Преимущества такого содержания и выращивания куриц в домашних условиях
Сегодня выращивать бройлеров в клетках стало возможным даже в домашних условиях.
Но для этого стоит выделить отбельное помещение, в котором буде установлена клетка с бройлерами и другие необходимые приспособления. Но выращивание бройлеров в домашних условиях обладает определенными преимуществами и недостатками. Рекомендуем также ознакомиться с информацией о том, какой должен быть размер гнезда для несушек.
Основное преимущество клетки – компактное содержание птиц, так как приходится задействовать минимальную площадь.
О выращивании кур на мясо читайте здесь.
К преимуществам стоит отнести:
- Простота ухода. Уборка помета и постороннего мусора происходит достаточно просто, ведь для этого в конструкции клетки предусмотрены поддоны.
- Простота конструкции. Клетка очень быстро и легко собирается своими руками.
- При установке клетки отсутствует контакт с другими птицами, особенно, если в одном помещении содержатся несколько питомцев.
- Корм и вода всегда находятся в чистом состоянии.
- Процесс кормления поголовья выполняется просто, ведь установка кормушек ведется снаружи клетки.

Список пород несушек представлен в этой статье.
К минусам стоит отнести:
- время, потраченное на производство клетки;
- для клетки необходимо оборудовать необходимое освещение и обогрев.
Как составить чертеж клетки на разное количество голов для разведения
На сегодняшний день большим спросом стали пользоваться 3 вила клеток для бройлеров кур. Они классифицируются с учетом того, какое количество кур вы собираетесь разводить. В таком случае можно выполнить клетку на 10,20 и 30 особей. В качестве главного материала используют сетку. Благодаря ей удается получить достаточную вентиляцию и освещение.
Читайте также о том, как сделать клетку для перепел.
Сама же птица получит свободный доступ к поилке и кормушке. Также клетка – это относительно дешевый, но надежный материал, который при малой цене отлично выполняет свою функцию. Однако не у каждого птицевода имеются такие финансы, чтобы приобрести уже готовы вариант конструкции.
Поэтому стоит заняться самостоятельным сооружением клетки. Чтобы все сделать своими руками, необходимо правильно определить размеры самодельной конструкции с учетом количества кур бройлеров.
Возможно, вас также заинтересует информация о кормлении несушек.
Для того чтобы куры активно набирали вес и развивались, стоит выполнить клетку, удобную в плане обслуживания. Если говорит про производственные конструкции, то у них подача воды и корма выполняется в автоматическом режиме. Еще для них свойственна форма в виде батареи. Такие клетки позволяют легко содержать птицу, ведь создается экономия пространства, подстилки и корма.
Клетка для бройлеров на 30 голов КК-30.
К самым распространенным видам клетки стоит отнести:
- на 10 голов – КК-10;
- на 20 голов – КК-20;
- на 30 голов – КК-30.
Для их изготовления используют сетку, благодаря которой удается всегда контролировать доступ к воде и корму. Но это не значит, что их нужно покупать.
Сегодня сделать все можно своими руками. Клетка для содержания мясных пород кур не должна быть большого размера. На 1 м2 могут поместиться 10 особей.
Какие должны быть размеры клеток для перепелов узнайте тут.
Видео
Данное видео расскажет о том, как построить клетку для бройлеров самостоятельно.
Как вы успели убедиться, выращивать кур бройлеров совершенно несложно, если вы сумеете правильно организовать помещение, где будет происходить содержание птиц. Самым важным условиям для их активного роста является правильная клетка, в которой будет соблюден необходимый температурный режим и освещение.
Ее размеры должны позволять не тесный контакт с другими птицами, а конструкция обязана обеспечивать свободный доступ к корму и воде. Состав комбикорма для кроликов представлен по ссылке.
Продуктивность и благополучие кур-несушек в обычных и обогащенных клетках
https://doi.org/10.3382/ps.2008-00369Получить права и содержаниеРЕФЕРАТ
разработка улучшенных клеток, которые позволяют курам выполнять естественное поведение, включая гнездование, ночлег и царапанье. Это исследование было проведено для сравнения показателей продуктивности и благополучия птиц, содержащихся в 2 различных системах клеток. Куры породы Shaver White содержались с 21 по 61 неделю в любой стандартной аккумуляторной клетке (n = 500; 10 клеток; 5 кур/клетка; площадь пола = 561).9 см 2 /курица) или обогащенные клетки (n = 480; 2 клетки; 24 курицы/клетку; площадь пола = 642,6 см 2 /курица) и были воспроизведены 10 раз. Обогащенные клетки снабжали кур занавешенной зоной гнездования, когтеточкой и насестами.
Производственные параметры и показатели качества яиц регистрировались на протяжении всего эксперимента. Состояние оперения оценивали в 37 и 61 неделю. Признаки качества кости и параметры иммунологического ответа измеряли через 61 неделю, 59 и 61 неделю соответственно. Яйценоскость несушек, потребление корма, вес яйца и процент совокупной смертности кур-несушек не зависели от конструкции клетки.Удельный вес и процент яиц с треснутой скорлупой и с мягкой скорлупой также были одинаковыми для двух систем содержания. Однако частота грязных яиц была значительно выше ( P < 0,0001) в обогащенных клетках, чем в обычных. Показатели оперения у птиц были одинаковыми, за исключением области крыльев, которая была выше ( P < 0,05) у кур, содержащихся в обычных клетках. Показатели качества костей, как правило, были выше у кур, содержащихся в обогащенных клетках, по сравнению с курами, содержащимися в обычных клетках.Однако увеличение было значительным только для минеральной плотности кости.
Показатели иммунологического ответа не выявили статистически значимых различий. В целом, яйценоскость, внешние показатели качества яиц, состояние оперения и параметры иммунологического ответа оказались схожими у кур, содержащихся в двух протестированных системах клеток. Обогащение клеток кур-несушек привело к улучшению качества костей, что могло быть результатом повышенной активности.Ключевые слова
курица-несушка
клетка
кость
производство
Рекомендуемые статьиСсылки на статьи (0)Опубликовано Elsevier Inc.
Рекомендованные статьи
Ссылки на статьи
Обычные клетки запрещены первыми в Орегоне, Вашингтоне
Похоже, Орегон и Вашингтон станут первыми штатами США, которые запретят обычные клетки для содержания кур, хотя многие группы по защите прав животных считали, что реализация Предложения 2 сделает Калифорнию первой.
Правила, определяющие соответствие формулировкам Предложения 2, позволяют содержать кур в обычных клетках, но им должно быть предоставлено значительно больше места на одну птицу.
Все еще возможно, что жилищные стандарты Калифорнии будут оспорены в суде и впоследствии изменены; в противном случае Орегон и Вашингтон могут стать первыми штатами без обычных клеток.
Цыплята могут свободно перемещаться внутри системы с первого дня. ПОСМОТРЕТЬ ВИДЕО | Все фото предоставлены Big Dutchman
Двери внутри системы NATURA открываются по мере роста стада, что дает больше места для движения.
Инициативы голосования в Орегоне и ВашингтонеГрег Сатрум, совладелец яичной фермы Willamette Egg, сказал, что в преддверии инициативы штата по голосованию, которая определит, как будут размещаться куры-несушки в Орегоне, его ферма принимала многочисленные группы через птичники своей фермы, чтобы ключевые люди могли видеть, в чем содержатся куры. как выглядели обычные клетки, бесклеточные вольеры, бесклеточные на полу и обогащенные клетки.
«Каждая (жилищная) система имеет свои преимущества и недостатки», — сказал Сатрум.
«Визуально птичники без клеток (на полу и в вольерах) выглядят наиболее открытыми и свободными, но когда в прохладную погоду уровень вентиляции низкий, качество воздуха в этих птичниках может стать маргинальным».
По словам Сатрума, реакция людей, посетивших объекты, была разной.
«Обычно людям, которые проходили, не нравилась традиционная система пола только потому, что она вонючая и пыльная», — сказал он. «Они думали, что вольер довольно приятный, но все еще пыльный.Первое, что люди отмечали в обычных домах, — это качество воздуха».
В обычных птичниках Willamette Egg Farm есть ремни для удаления навоза, а в части одного птичника были обогащенные клетки для колоний с курами, размещенными по 116 квадратных дюймов на птицу.
«Люди, которые склоняются к стороне защитников животных, сказали, что им нравятся вольеры, понимая, что есть некоторые проблемы с пылью», — сказал Сатрум. «Большинству людей действительно понравился внешний вид этой обогащенной колонии (клетки), учитывая качество воздуха и больше места.
для птиц, а потом некоторые люди сказали, что не так с обычной клеткой? Это действительно решение, основанное на ценностях.Но большинство людей, которых мы посетили, были чем-то средним между обогащенной колонией и вольером».
Сатрум сказал, что из-за проблем с птичьим гриппом Яичная ферма Уилламетт больше не будет принимать какие-либо туристические группы, пока не закончится вспышка.
В возрасте от 2 до 4 недель стадо выпускают из системы. Лебедка используется для одновременного открытия и закрытия ряда дверей. ПОСМОТРЕТЬ ВИДЕО Обогащенные клетки для кур-несушек в Орегоне и Вашингтоне В рамках истекшего в настоящее время соглашения о благосостоянии кур-несушек между Обществом защиты животных США (HSUS) и Соединенными производителями яиц, HSUS приостановил свои усилия по продвижению инициатив государственного голосования и сосредоточил свои усилия на обеспечении прохождения национального благосостояния кур.
закон, известный как законопроект о яйцах.Когда инициатива голосования была прекращена в Орегоне и Вашингтоне, законодательные органы обоих штатов уже провели через обе палаты законопроекты со стандартами, аналогичными законопроекту о яйцах. Законопроект Сената Орегона 805 и законопроект Сената Вашингтона 5487 были подписаны губернаторами соответствующих штатов в 2011 году. Законы устанавливают требования к содержанию кур-несушек, которые производят яйца и яичные продукты, предлагаемые для продажи в этих штатах. Графики перевода кур из обычных клеток либо в обогащенные клетки площадью 116 квадратных дюймов на птицу, либо в свободные от клеток устанавливаются аналогично Закону о яйцах.Любая новая конструкция птичника должна соответствовать рекомендациям Американской ассоциации защиты животных как для обогащенных клеток, так и для бесклеточных. Производители могут продолжать использовать существующие мощности до 2026 года.
После того, как в двух Конгрессах были предприняты попытки принять законопроект о яйцах, United Egg Producers и HSUS отказались от попыток принять предложенный закон.
Это оставляет Орегону и Вашингтону возможность двигаться вперед с правилами, подобными законопроекту о яйцах, в то время как, похоже, содержание кур в большей части остальной части страны будет определяться рыночными силами, по крайней мере, на данный момент.
Внешний насест регулируется и находится под углом 45 градусов в полностью выдвинутом положении.
Куры-несушки, не содержащие клетки в штате ОрегонСатрум сказал, что яичная ферма Willamette вернулась к бесклеточному производству яиц примерно в 2002 году из-за интереса со стороны клиентов.
«Мы немного опоздали, особенно с нашим органическим производством», — сказал он. «Мы немного затянули, потому что хотели быть уверенными, что это настоящий тренд».
Он сказал, что прошло почти 50 лет с тех пор, как ферма перешла от бесклеточного содержания кур к клеткам. Его первый птичник новой эры без клеток был просто старым птичником, из которого они вытащили клетки и поместили в ящики для гнезд и дощатый пол, в устройстве, похожем на птичник для выращивания бройлеров. По его словам, было так интересно наблюдать за птицами вне клетки, что, когда они поставили первую стаю цыплят на пол, они поставили садовые стулья в курятнике и наблюдали, как цыплята бегают.
Сегодня яичная ферма Willamette производит около 8% яиц без клеток. Сатрум сказал, что в штате Орегон, вероятно, немного выше процент продаж яиц, выращенных вне клеток.
По словам Сатрума, будущее бесклеточных продаж в Орегоне может зависеть от разницы в цене между бесклеточным и клеточным яйцами в рознице.
«Всякий раз, когда цены на обычные яйца приближаются к бесклеточным яйцам, мы наблюдаем взлет продаж бесклеточных яиц», — сказал он. «Затем, когда цена на обычные яйца снижается, продажи бесклеточных яиц, как правило, падают.
Хороший процент потребителей всегда будет чувствителен к цене. Цены на бесклеточные яйца, как правило, довольно стабильны; цены на обычные яйца прыгают».
В будущем бесклеточные яйца будут конкурировать с яйцами от кур в обогащенных клетках на северо-западе Тихого океана.
По оценкам, в 2015 году в Орегоне и Вашингтоне проживало 3,83 и 6,72 миллиона человек соответственно. В марте 2015 года в Орегоне и Вашингтоне насчитывалось 2,305 и 6,994 миллиона несушек соответственно.Яичная ферма Willamette, имеющая кур в Орегоне и Вашингтоне, сообщила о 2,3 миллионах кур, содержащихся в обзоре Top Egg Company за 2015 год. Орегон — это штат с небольшим дефицитом яиц, в то время как Вашингтон производит достаточно яиц, чтобы удовлетворить свои потребности.
Насест можно поднять, что обеспечивает легкий доступ к насестам и способствует развитию плотности мышц и костей. ПОСМОТРЕТЬ ВИДЕО Конкурентное бесклеточное производство яиц Как и многие другие производители яиц, Willamette Egg Farm занялась бесклеточным производством яиц, потому что об этом просили клиенты.
Теперь, когда спрос на бесклеточное производство вырос, некоторые производители яиц уже планируют или строят крупные бесклеточные фермы.
«Свободные клетки станут более конкурентоспособными», — сказал Сатрум. «Вы должны стать лучшим менеджером в клетке. Вы действительно должны быть в игре, чтобы добиться максимальной производительности».
По словам Сатрума, вольерные системы были лучше напольных систем как для выращивания молодок, так и для содержания несушек.
«Система вольерного брудера действительно упростила нам процесс выращивания цыплят.Было намного сложнее, когда мы запускали их на паркете», — сказал он.
Он сообщает, что на яичной ферме Уилламетт наблюдается постоянное улучшение сохранности и живучести несушек в вольерных системах.
«Мы стали лучшими менеджерами, и (породы) стали лучше. Как только вы сломаете систему, она может быть вполне работоспособной, но она изменится, даже если вы просто поменяете породу», — сказал он. На яичной ферме Willamette есть люди, которые специализируются на уходе за бесклеточным стадом и управлении им.
Вольерные системы позволяют цыплятам и курам-несушкам без клеток использовать все трехмерное пространство в птичнике и позволяют содержать больше птиц на квадратный фут площади пола по сравнению с напольными системами. Важно научить кур-несушек использовать трехмерное пространство в вольере птичника, чтобы они могли делать это в птичнике для несушек, не травмируя себя.
Уилламетт держит молодок закрытыми в вольерной системе в течение первых четырех недель, но некоторые производители выпускают птиц уже в двухнедельном возрасте. Цыплята днем свободно гуляют по дому. Затем, каждый вечер, когда гаснет свет, курочки отправляются в вольер, чтобы посидеть там самостоятельно.
Аналогичная процедура применяется после перевода кур-несушек в вольер в птичнике. Птиц держат закрытыми в вольере несколько недель, а затем утром вольер открывают.Закат имитируется освещением, сигнализирующим курам вернуться в вольер, но затем система автоматически закрывается. Сатрум сказал, что после того, как несушек выпустят утром, рабочие должны поместить отставших птиц обратно в вольер вечером на первые 3-5 ночей после того, как их выпустят. Это помогает предотвратить куры от того, чтобы оставаться на улице и учиться нести яйца на полу.
Бесклеточная смертностьПо словам Сатрума, первоначально при напольной системе смертность кур-несушек на ферме без клеток была разочаровывающей.«Пять лет назад у нас, вероятно, было в два раза больше падежа в бесклеточном поголовье, чем в клетках, но теперь в бесклеточном поголовье он лишь немного выше, и большая часть этого приходится на конец цикла стада», — сказал он.
Сатрум считает, что улучшенная генетика, вольерная система и программа освещения на ферме помогли улучшить сохранность несушек, содержащихся в бесклеточном содержании.
«Одна из наших целей в освещении — избежать выклевывания перьев», — сказал он.
Выклев перьев может в конечном итоге привести к ссадинам на коже, что иногда может спровоцировать каннибализм.Он сказал, что в вольере есть места для укрытия кур, которых нет в напольных системах.
«Птицы в вольере просто менее нервные и непостоянные, чем в напольной системе», — сказал Сатрум.
«Обогащенные» клетки – зияющая лазейка в Законе о «благосостоянии» кур-несушек в Европейском Союзе
«Обогащенные» клетки – зияющая лазейка в Законе о «благосостоянии» кур-несушек в Европейском Союзе
Клэр Дрюс, основательница Chickens’ Lib, из главы ее готовящейся книги Куриное печенье: история одной кампании
Chickens’ Lib — броское название группы давления, которая привлекла внимание британских СМИ около сорока лет назад.Изначально создавался для поднятия
Зная о шокирующей системе батарейных клеток, мы вскоре перешли на других сельскохозяйственных животных, хотя птицеводство оставалось нашим основным направлением.
Моя будущая книга
написано как для «обычного» читателя, так и для специалистов. До сих пор существует огромное количество невежества в отношении сельскохозяйственных животных, и я надеюсь, что моя
рассказы о наших близких столкновениях с ужасами промышленного животноводства в сочетании с историями о нашей спасенной домашней птице помогут просветить более широкую общественность. В
В моей книге я пишу о жестокости, болезнях (в том числе от животных к человеку), чрезмерном использовании антибиотиков, официальном сокрытии и совершенно
неустойчивый характер нашего нынешнего способа накормить голодный мир телами заключенных животных.
Основной темой, проходящей через всю книгу, является мое убеждение в том, что там, где существует законодательство о сельскохозяйственных животных (например, в Европейском союзе), интенсивные системы обычно противоречит этому, ситуация, которая должна быть оспорена в судах.
Жизнь за решеткой
Несмотря на многолетнюю кампанию против любой формы клетки всеми серьезными организациями по защите прав животных, «обогащенные»
Версия клетки-батареи для кур-несушек не подпадает под действие запрета Европейского союза 2012 года на бесплодную клетку-батарею.
В 2012 году RSPCA запустила новую кампанию против обогащенных клеток. В выпуске журнала Poultry World за февраль 2012 г. цитируется мнение Общества. старший научный сотрудник: «Смысл, который мы хотим донести, заключается в том, что, несмотря на новый закон о социальном обеспечении, куры по-прежнему будут содержаться в жестоких клетках».
Но что такое обогащенная клетка?
По сути, это все еще клетка-батарея, птицы живут за решеткой на металлическом решетчатом полу, клетки стоят ярусами, многие тысячи кур в строительство.По сравнению с клеткой старого образца, на каждую курицу приходится дополнительная площадь размером примерно с почтовую открытку. общая минимальная площадь на одну курицу до 750 квадратных сантиметров (116 квадратных дюймов), что немногим больше площади листа бумаги формата А4.
Согласно Директиве ЕС, клетки для обогащения должны включать насест, скворечник и устройство для укорачивания когтей, а также точное количество пищи и воды.
припасы — все необходимое для курицы, но крайне недостаточное, поскольку оно поставляется в обогащенной клетке, особенно в случае скворечника.Сам термин
«Скворечник» звучит утешительно — почти уютно. Но в контексте обогащенной клетки это просто занавешенное пространство, за которым курица
находит тот же наклонный пол клетки, металлическая сетка теперь покрыта каким-то матом. Ни клочка соломы, ни мягкого материала, которым можно было бы ее уложить.
гнездо.
Еще в апреле 2001 года Poultry World опубликовала статью под названием «Практический опыт меблированных клеток» (для «меблированных» читать
обогащенный). К нему прилагалась фотография Арнольда Элсона, международного консультанта по птицеводству группы ADAS по экологической политике, присевшего на корточках.
непосильную стойку, вглядываясь в нижний ярус обогащенных клеток на экспериментальной ферме ADAS в Глидторпе.Как в бесплодной аккумуляторной клетке,
эффективного осмотра кур в нижних клетках вряд ли получится.
Что еще хуже, в обогащенной клетке само наличие скворечников
делает тщательные проверки, как того требует закон, практически невозможными. Даже если птицевод совершит потенциально болезненный подвиг, встав на колени и
приседание в течение значительного промежутка времени, чтобы проверить птиц, как этого можно добиться, если существуют места гнездования? Как он/она рассудит, что курица
(или кур) за пластиковой занавеской, которую птицевод может отодвигать или не отодвигать, чтобы получить надлежащий обзор? Может ли эта курица , а не нести яйцо, а вместо этого искать убежище от стресса жизни в клетке? Она может быть серьезно ранена или просто умирает от усталости несушек в клетке.
термин, используемый для обозначения состояния остеопороза – потери костной ткани – у содержащихся в клетках кур, которые отказались от борьбы.Со встроенным затемнением
районах, по общему признанию жизненно важных для несушек, перспектива тщательного ежедневного осмотра отдельных птиц в «обогащенных» клетках
практически ноль, что делает всю систему незаконной per se .
По сравнению с обычной клеткой, «обогащенная» клетка не дает
значимых преимуществ курам, сообщает Compassion in World Farming. фото КИВФ.
В 2012 году в своем заключении об остеопорозе и переломах костей у кур-несушек Британский совет по защите сельскохозяйственных животных (FAWC) заявил, что переломы обычны у кур в обогащенных клетках, и отлов «отработанных» кур в этих клетках еще больше ломает их кости, так как ловцы хватайте и тяните их тела, чтобы вытащить их из сложных клеток.
Я видел обогащенные клетки на экспериментальной ферме ADAS на ферме Глеадрона в Ноттингемшире, законно, насколько ей дирекция ЕС, Но грубо неадекватно для нужд кур. Предназначен для удержания четырех или пяти кур, они выглядят очень похожи на бесплодную клетку батареи, в том числе Минимальные законодательные дополнения «гнездо» коробки, окуней и т. Д.
Перки были 5 сантиметров (два дюйма) или настолько с пола, в результате чего занимают драгоценное пространство.
Для хесов, застрявших в том, что на самом деле батарея клетки,
окуты предлагают огромное улучшение навсегда захватывать суровый наклонный металлический пол, и было замечено, что в обогащенных клетках куры тратят
большую часть своего времени усаживаться.Ввиду этого я не удивлюсь, увидев «Неблагоприятное воздействие на кур-несушек, вызванное чрезмерным насестом» в качестве будущего исследовательского проекта, за который ухватились ученые-птицеводы.
поиск новых идей для грантовых денег.
Возможно, самым явно недостижимым положением в Директиве ЕС является положение о «подстилке, которую можно клевать и царапать». Интересно, что истинное купание в пыли, то есть жизнедеятельность курицы, если ее перья и кожа должны быть чистыми и здоровыми, в книге не упоминается.
Директивы, и наверняка потому, что все, кто участвовал в составлении положений, признавали невозможность поставки пылезащитного материала
в пределах клеток.В Гледторпе небольшой квадрат из астра-дерна (ярко-зеленая искусственная трава, используемая зеленщиками), замаскированный под способ
выполнения требования Директивы о месте, где куры могли бы клевать и царапать в клетке.
Я считал это бесполезным и негигиеничным, поскольку
помет наверняка застрял бы в «траве».
Клеточный комплекс «Обогащенная колония», NPR, 26 января 2012 г.
Клетки «обогащенная колония»: новая и пугающая версия заводского фермерства
Я также смог увидеть обогащенные аккумуляторные батареи в стиле колонии на действующей ферме в Великобритании — тип, который устанавливает и рекламирует У.С. производителей яиц как «амбары-колонии». (Клетки/амбары для колоний в ЕС могут содержать любое количество кур, если есть необходимые 750 кв. сантиметры — 116 квадратных дюймов — площади пола на каждую птицу.)
Некоторые клетки из обогащенных колоний, которые я видел, вмещали до 60 кур. Вдаль тянулись блестящие металлические клетки, и знакомая бесконечная
шум разочарованных куриных голосов. По крайней мере, куры могли пробраться из одного конца клетки в другой, чтобы немного размяться, но не с
легкость на наклонном решетчатом полу.
И они навсегда борются за пространство со своими сокамерниками.
В этом блоке, установка хвасталась Гениальная идея для обеспечения «помета для расчесывания и клюет», как того требует директива. Раз или два раза в день небольшое количество куриного корма автоматически распределяется в одном углу каждой клетки, на, я, кажется, помню, немного области зеленная лавка «трава». И нет сомнений в том, что куры не делали попытки поцарапать и клюют на это, просто что-то делать.
Затем мы поднялись на металлической лестнице на верхний уровень клеток, для повторного бег вниз по лестнице.Теперь я еще больше осведомлены о масштабах операции. Здесь были еще тысячи кур, запертые навсегда в клетках, их жизнь, лишенная истинный смысл.
Под заголовком «Система Colony получает большие пальцы вверх,» Poultry World сентября 2009 описывает систему, установленную на Oaklands Farm Eggs,
где каждая клетка колонии обогащенная дома 80 птиц. Изучение фотографии, мне кажется, что эти куры в нижнем ярусе клеток должны жить в глубоком мраке.
Хотя выше не-колония «обогащаются» клети на выставке в Gleadthorpe, колония-стиль обогащается клетка не предполагает ничего более новой и
охлаждая версию завода-фермер.
Для получения дополнительной информации о массированной операции Оклендса Farm яйца в Шропшир, визит www.oaklandsfarmeggs.co.uk, где вы можете прочитать, как их «девочки», ответственные за производство 500 миллионов яиц в год, «сидят довольно» в новых клетках. Как ни странно, это не кажется можно просмотреть эти новые дома, погребенные, как они находятся в суматоха о «хорошем благосостояния» и «превосходящего яйце.» 8 декабря, 2011, представитель Oaklands Farm рассказал слушателям Радио 4 «Farming Сегодня», как куры в очереди в «полковой» моды, ожидая свою очередь в районе гнездования, предлагая мне, что положение для откладки яиц в обогащенных колонии клеток совершенно недостаточно для должны отвечать курица.
Следующее поколение тюремных камер для кур
Еще в 1982 году мы связались с Десмондом Моррисом, знаменитым зоологом, этологом и автором книги «Голая обезьяна », по поводу бедственного положения
батарея курица.
Без промедления он написал памятную статью для колонки Opinion газеты Sunday Telegraph. Вот выдержка: «Всякий, кто внимательно изучал общественную жизнь птиц, знает, что это тонкий и сложный мир, где пища и вода — лишь
небольшая часть их поведенческих потребностей.Мозг каждой птицы запрограммирован сложным набором побуждений и реакций, направляющих ее на путь к цели.
жизнь, полная особых территориальных, гнездовых, ночных, ухаживающих, родительских, агрессивных и сексуальных действий в дополнение к простому пищевому поведению.
Все эти другие виды поведения полностью запрещены курице-батарее».
Клетки любой формы совершенно не удовлетворяют потребности кур-несушек. Это трагедия, что птицеводческая промышленность продолжает поощрять изготовление следующего поколение куриных тюремных камер.
– Клэр Дрюс
КЛЭР ДРУС, мой наставник, друг и соучредитель инициативной группы Chickens’ Lib, позже переименованной в Сеть защиты сельскохозяйственных животных, начала кампанию за
отмена жестокого содержания домашней птицы в Соединенном Королевстве в начале 1970-х годов.
Книга Клэр, Курица и яйцо: кто платит цену? опубликовано в
1989 г., была первой книгой, посвященной промышленному птицеводству и производству яиц с точки зрения защиты прав животных.Цыпленок Либ был
первым в производстве душераздирающих фильмов, документирующих скрытых страданий цыплят и индеек на промышленных фермах. В 2004 году Клэр Дрюс опубликовала Minny’s Dream , волшебную историю для молодежи (всех возрастов) о курице в батарейной клетке по имени Минни, которая умоляет девочку спасти ее.
из клетки, прежде чем ее отправят на бойню. Minny’s Dream , бесценное сокровище захватывающего чтения, можно приобрести в United Poultry.
Опасения за 10 долларов.– Карен Дэвис, United Poultry Concerns
Poultry Biz: больше нет аккумуляторных клеток
Хайдарабад: Птицеводы вскоре должны будут отказаться от выращивания яиц в клетках и перейти на бесклеточное выращивание яиц, поскольку Юридическая комиссия Индии обратилась в Центр с просьбой уведомить о правилах, сформулированных в 2012 году, запрещающих выращивание кур-несушек в клетках.
Юридическая комиссия, которая рассматривала законы о перевозке и выращивании домашней птицы по запросу Министерства юстиции и юстиции, сообщила министерству, что, хотя в 2012 году были разработаны правила для защиты яичных кур-несушек и цыплят-бройлеров, они не были уведомлены .
Комиссия сочла, что, хотя Совет по защите животных Индии разъяснил в 2012 г., что содержание кур в аккумуляторных клетках нарушает положения раздела 11(1)(e) Закона о предотвращении жестокого обращения с животными 1960 г., большинство домашних птиц клетки.
Судебная коллегия указала, что куры, используемые для производства яиц, выращиваются в маленьких проволочных клетках, называемых аккумуляторными клетками, название, данное из-за расположения клеток, расположенных рядом. Батарейные клетки настолько малы, что птицы не могут вставать или расправлять крылья, не касаясь стенок клетки или других кур, или беспрепятственно кружить.
Комиссия указала, что площадь пола, доступная для каждой курицы, составляла примерно 623,7 см2, что почти равно площади листа бумаги формата А4, а типичная яичная ферма в нашей стране содержит тысячи клеток с тысячами птиц, расположенных многоярусно.
высокий.
Юридическая комиссия отметила, что этот метод выращивания кур приводит к воспалению ног, ссадинам, переломам костей и другим травмам у птиц.
Это также увеличивает риск заражения птиц инфекционными заболеваниями, требующими введения лекарств.
Комиссия сочла, что последствия содержания бройлеров в клетках вызывают несколько опасений, и поэтому клеточное содержание бройлеров следует заменить бесклеточным выращиванием, чтобы улучшить плотность содержания, кормление и гигиену.
Комиссия попросила Центр включить строгие наказания в Закон 1960 г., поскольку существующие положения предусматривали только штрафы.
Юридические круги ожидают, что Правила предотвращения жестокого обращения с животными (куры-несушки) 2017 года и Правила предотвращения жестокого обращения с животными (цыплята-бройлеры) 2017 года будут вскоре уведомлены Центром.
После вступления в силу этих правил никто не сможет заниматься птицеводством без регистрации в государственном департаменте животноводства.
Птицы будут допущены к работе только после подтверждения отделом животноводства того, что ферма является бесклеточной.
… Свободный выгул
против свободного выгула: лучше ли свободный выгул, чем свободный выгул?
Расшифровка прохода для яиц — непростая задача для среднего покупателя в продуктовом магазине.И это потому, что в наши дни распространение вводящих в заблуждение и бессмысленных слов и печатей, которые выделяют коробку в огромном море вариантов яиц, стало нормой. Для тех из нас, кто работает в Pete and Gerry’s Organic Eggs, такие пустые термины, как «свежие с фермы» и «полностью натуральные», относятся к тому же уровню, что и «без клетки». Так что плохого в том, чтобы не сидеть в клетке? Почему уменьшающаяся роль клеток в яичной промышленности — это плохо? Мы здесь, чтобы разъяснить разницу между яйцами, выращиваемыми в клетках и на свободном выгуле, и объяснить, почему эта разница должна иметь для вас значение, когда вы сталкиваетесь с трудным решением в продуктовом магазине.
Что означает «без клетки»?
Термин «без клеток» стал модным словом в яичной промышленности. И, как и большинство модных словечек, это еще не все. В случае с курами-несушками термин «бесклеточный» регулируется Министерством сельского хозяйства США, но остается невероятно расплывчатым термином: Министерство сельского хозяйства США не предлагает никаких спецификаций пространства, отведенного каждой курице, и не включает никаких требований к доступу к клеткам. естественный солнечный свет через окна или другие типы отверстий. Бесклеточные куры имеют возможность перемещаться вертикально (в некоторой степени, особенно в фабричных многоуровневых бесклеточных складах) и горизонтально в своих крытых жилых помещениях.По данным независимого комитета, созданного United Egg Producers, в 1995 году 95% всего производства яиц в США приходилось на кур, содержащихся в клетках. доступ на улицу и стесненные условия, характерные для многих бесклеточных промышленных ферм, делают сам термин гораздо менее позитивным и последовательным, чем кажется.
Короче говоря, когда вы видите этикетку «без клетки» в проходе для яиц, вот что это может означать для несушек, несущих эти яйца:
- Без доступа снаружи
- Практически нет места, чтобы потянуться, помыться в пыли или посидеть на насесте
- Нет доступа к естественному солнечному свету
- Воздействие болезней и грязных, переполненных помещений
Что означает свободный выгул?
Термин «свободный выгул» регулируется на федеральном уровне, но из-за отсутствия у Министерства сельского хозяйства США подробных инструкций сторонние сертификаторы являются золотым стандартом, когда речь идет о яйцах свободного выгула.Без сильного стороннего сертификатора, подтверждающего заявления о свободном выгуле, эти куры могут быть ограничены экранированными крыльцами или цементом и по-прежнему считаться свободным выгулом. Все фермеры-партнеры Пита и Джерри следуют стандартам Humane Farm Animal Care (HFAC) Certified Humane Free Range, которые, возможно, являются самыми высокими и прозрачными в своем роде.
На наших фермах свободный выгул означает, что в течение большей части дня и года (за исключением ненастной погоды и когда в этом районе обнаруживаются хищники) наши куры могут свободно гулять на улице, когда им заблагорассудится.Наши куры на свободном выгуле имеют как минимум 2 квадратных фута пастбища на курицу, и это в среднем на каждую курицу в стаде. Очень редко вся стая решает быть на улице в любое время дня; большинство из них предпочитают тень, воду, корм или социальные возможности внутри амбара, поэтому девочки, которые хотят выйти наружу, обычно имеют огромное пространство для исследования. Когда вы берете коробку органических яиц Пита и Джерри, знайте, что несущие их куры наслаждались:
- Ежедневный доступ к зеленым травянистым пастбищам, которые никогда не обрабатывались синтетическими пестицидами
- Абсолютно никаких клеток
- Свобода потягиваться, купаться в пыли, садиться и лежать в уединении
- Ежедневный доступ к чистой свежей воде и органическим кормам
- Наружные навесы
- Минимум 2 квадратных фута на курицу
В чем разница между бесклеточным и свободным выгулом яиц?
Наиболее существенным отличием яиц от кур, содержащихся в клетках и на свободном выгуле, является доступ на улицу.
Проще говоря, у кур на свободном выгуле это есть, а у кур, живущих на свободном выгуле, нет. Но выход на улицу дает несушкам множество других преимуществ, в первую очередь способность демонстрировать свое естественное поведение.
| Бесклеточные фермы | Фермы Пита и Джерри |
|---|---|
| — нерегулируемые | — Сертифицированные USDA органические пастбища и корма |
| — Без доступа снаружи | — Сертифицированный гуманный свободный выгул |
| — Без естественного освещения | — Легкий доступ к пастбищам и навесы на открытом воздухе |
| — Клетки | — Без клеток |
| — Промышленные фермы | — Просторные одноуровневые коровники |
Как насчет пастбищного животноводства?
Выращивание пастбищ — еще один термин, появившийся в последние годы.Хотя стандарты Министерства сельского хозяйства США, поддерживающие этот термин, отсутствуют, ответственные производители предоставляют курам травяные пастбища для кормления, как на свободном выгуле.
Споры ведутся относительно того, сколько места «достаточно» для кур. Некоторые производители, выращивающие яйца на пастбищах, предлагают в среднем даже больше места, чем производители на свободном выгуле, но это пространство не предоставляется бесплатно и часто отражается на цене яиц на полке. Этот термин также не гарантирует, что пастбища и корм для кур не содержат ГМО и вредных пестицидов; только сертифицированная органическая печать Министерства сельского хозяйства США.С точки зрения устойчивости свободный выгул является наиболее экологически чистым и экономичным вариантом; мы думаем, что нашли правильный баланс с сертифицированным гуманным свободным выгулом для наших кур, фермеров и потребителей.
Разве отказ от клеток не является шагом в правильном направлении?
В последние годы инициативы на уровне штатов, такие как Калифорнийское Предложение 12, призвали к новым стандартам, связанным с заключением, особенно в случае кур-несушек. Мы производим продукцию в соответствии со стандартами Certified Humane Free Range с 2003 года и считаем, что это шаг в правильном направлении, который давно назрел.
Но мы также хотим, чтобы потребители, чтобы понять, что в то время как клетка свободная является улучшением, многие клетки свободных объектов до сих пор состоят из пола до потолка шкафов и массивных складских сараев, которые не дают никакого открытого доступа для кур-несушек. Мы по-прежнему предостерегают, что эта шкала спроса будет стимулировать те же производители, которые были работает в обойме птицефабрик все эти годы, чтобы превратить свои операции в клетке свободно и в то время как это улучшение, мы по-прежнему несколько скептически о том, как по-настоящему гуманным те фабрики хозяйства, как изменение медленно, но верно реализуется.Как сторонники реальных перемен, мы думаем, что пришло время продвигать стандарты свободного выгула по всей стране, а не предоставлять промышленным фермам большую защиту под еще одним далеким от совершенства ярлыком.
Клетки для кур-несушек ниже 6% в Германии
© CatAct-Art – Shutterstock В течение долгого времени мы боролись против особо жестокого содержания кур-несушек в клетках.
Инициатива «Германия отказывается от клеток» была нашим первым основным направлением и сопровождает нас до сегодняшнего дня. Тем временем, однако, мы можем сказать: мы почти достигли нашей цели.Доля клеточных кур в немецкой яичной промышленности сокращается с каждым годом и скоро упадет ниже пятипроцентной отметки.
Числа
В 2020 году в Германии насчитывалось около 43 миллионов кур-несушек. 61 % из них жили в коровниках, 20 % — на свободном выгуле, 12 % — на органических фермах и чуть менее 6 % — в клетках.
Для сравнения, в 2015 году насчитывалось 40 миллионов кур, из которых 63% содержались в коровниках, 18% в системах свободного выгула, 9% на органических фермах и 10% в клетках.Это показывает, что количество кур, страдающих в клетках, с тех пор сократилось почти вдвое. В 2000 году процент кур, содержащихся в клетках, все еще составлял 87%. Это развитие является результатом изменения отношения в обществе, на которое вы и мы, как фонд, оказали большое влияние.
Как все начиналось
В 1999 году адвокат Вольфганг Шиндлер, основатель Фонда Альберта Швейцера, положил начало концу клеточного содержания кур: как представитель земли Северный Рейн-Вестфалия, он убедил Федеральный конституционный суд в том, что клеточные батареи которые использовались в то время, не соответствовали Закону о защите животных.
Затем немецкая яичная промышленность перешла на так называемые обогащенные клетки, которые практически так же плохи, как клетки-батареи. Вместе с другими группами защиты животных мы убедили супермаркеты и другие компании прекратить продажу или использование клеточных яиц. Это привело к кампании «Германия освобождается от клеток».
Затем доля рынка яиц, выращиваемых в клетках, рухнула до такой степени, что после дальнейшего решения Федерального конституционного суда федеральное правительство и правительства штатов договорились также об отмене «обогащенных» клеток.В 2025 году (в тяжелых случаях в 2028 году) окончательно закончится переходный период, в течение которого использование этих клеток еще разрешено.
Многое еще предстоит сделать на международном уровне
Отказ от клеток для кур-несушек в Германии показывает, насколько долгими и кропотливыми могут быть процессы изменения в интересах животных, но также и то, что они возможны и что стратегический подход и терпение окупаются.
Сегодня мы являемся членом международной Open Wing Alliance и также боремся за отмену батарейных клеток и »обогащены« клети глобально — потому что во всем мире, и даже в Европе, многие несушки по-прежнему страдают в этой жесточайшей системе животного хозяйство.Это еще одна причина, по которой мы поддерживаем Европейскую гражданскую инициативу «Покончим с клеточным веком», призывающую к отмене клеток для всех сельскохозяйственных животных в Европе.
Вы хотели бы поддержать нашу работу для животных? Вы можете сделать это здесь.
Если бы потребители знали, как выращивают цыплят на ферме, они, возможно, никогда больше не съедят их мясо | Сельское хозяйство
2012 год ознаменовался прорывом в области защиты животных в Европейском Союзе.
Фермерам больше не разрешалось держать кур-несушек в бесплодных батарейных клетках размером меньше листа бумаги формата А4.Вместо этого теперь минимальное требование состоит в том, что куры должны содержаться в клетке размером с лист бумаги формата А4, с дополнительным общим пространством размером с открытку, которое позволяет им царапать и гнездиться. Они известны как обогащенные клетки.
Активисты по защите животных также хотели бы, чтобы их упразднили, заявив, что они почти не влияют на способность птиц выражать свое естественное поведение и жить без стресса. Около половины яиц, которые мы едим, по-прежнему производятся в клетках.
Полное удаление клюва для предотвращения расклевывания курами друг друга больше не допускается, но обрезка клюва по-прежнему разрешена у кур-несушек.Их первичный орган чувств обычно обрезают в дневном возрасте, будь то в клетке или на свободном выгуле. Прогресс здесь заключается в том, что фермеры теперь должны использовать инфракрасные лазеры для выполнения процесса, а не горячие лезвия предыдущих дней.
Это чище, но остается болезненным для птицы.
Промышленные куры-несушки были выведены для того, чтобы производить больше и быстрее, откладывая около 320 яиц за период жизни около 72 недель, по сравнению с продуктивной жизнью около четырех лет у более традиционных пород, которые несутся в несколько раз меньше. .Эта высокая интенсивность производства имеет тенденцию влиять на их кости, которые могут стать хрупкими и легко ломаться; птицы впадают в состояние стресса, поэтому необходимо обрезать клюв, и становятся вялыми.
Новые линии фронта за благополучие сельскохозяйственных животных были вычерчены, когда президент Обама прибыл в Лондон в четверг, чтобы продвигать Трансатлантическое торгово-инвестиционное партнерство (TTIP) с Европой. США, которые долгое время считались отстающими в сельском хозяйстве, настаивают на том, чтобы Европа открыла свои рынки для американской птицы, которая производится по другим стандартам.Дебаты об этих стандартах разгорелись в последние недели в США, когда в СМИ появилась серия громких сообщений о жестокости, присущей их методам животноводства.
В этом месяце этот вопрос снова встал на повестку дня в Великобритании после того, как правительство разрешило птицеводам переписать кодексы социального обеспечения. Драматический разворот в ответ на общественный резонанс в связи с этим предложением еще раз привлек внимание к тому, как мы обращаемся с нашими сельскохозяйственными животными.
Воздействие интенсивного производства на заболеваемость цыплят-бройлеров, выращиваемых на мясо, также вновь стало объектом пристального внимания.Государственный орган по надзору за качеством пищевых продуктов, Агентство по пищевым стандартам, был вынужден объявить, что приостанавливает свои тесты бройлеров на наличие кампилобактера, вызывающего пищевое отравление. Изменения в обработке на фабриках лишили FSA возможности продолжать свою высокоэффективную работу, называя и пристыжая супермаркеты с наихудшими показателями по бактериям.
Жизнь цыплят-бройлеров не намного легче созерцать, чем жизнь несушек. Много исследований было посвящено генетической селекции для получения наиболее экономически эффективной птицы.
Несколько лет назад RSPCA выпустила брошюру, которая, по моему мнению, до сих пор является лучшей иллюстрацией того, что это значит для цыплят. На серии фотографий, сделанных с разницей в несколько дней, запечатлена обычная курица-несушка традиционного разведения, которая растет от цыпленка до зрелости. Внизу были параллельные фотографии современного бройлера, сделанные через одинаковые промежутки времени. К девятому дню ноги бройлера с трудом удерживают огромную грудь от земли. К 11 дню он раздувается и становится вдвое больше своего кузена. Он выглядит как тучный девятилетний ребенок, стоящий на ногах пятилетнего.К 35 дню он больше похож на тяжелоатлета на стероидах и затмевает курицу-несушку.
В 1957 году средний период роста съеденной курицы до достижения убойного веса составлял 63 дня. К 1990-м годам количество дней роста сократилось до 38, а количество необходимого корма сократилось вдвое.
Но генетический отбор для производства птиц, которые работают как фабричные производственные единицы, создает серьезные проблемы со здоровьем.
Их кости, сердца и легкие не поспевают за ними. Большая часть бройлеров страдает от проблем с ногами. В магазинах можно увидеть характерные ожоги скакательных суставов – темно-красные пятна – на ноге в районе коленного сустава, вызванные тем, что они сидят на корточках в грязной подстилке, потому что ноги болят или деформированы. Хромота — это не только проблема благосостояния. Птицы, которые сидят в гнилой подстилке, чаще страдают кожными заболеваниями. Также распространены смерти от сердечных приступов или опухших сердец, которые не могут обеспечить достаточное количество кислорода для своих слишком больших грудных мышц.Поскольку бройлеры растут неестественно быстро, тех, которых держат для разведения — и поэтому не забивают в шесть недель, но позволяют им достичь половой зрелости примерно в 15-18 недель, — приходится морить голодом, иначе они станут слишком большими для спаривания.
Интенсивно выращиваемый бройлер обычно содержится в сарае с искусственным освещением примерно на 20 000–30 000 голов.
Компьютеры управляют системами отопления и вентиляции, а также раздачей корма и воды. Вода и корм обрабатываются препаратами для борьбы с паразитами или, при необходимости, массовыми дозами антибиотиков.Установки очищаются только в конце каждого цикла, поэтому через две-три недели пол в сарае полностью покрыт фекалиями, а воздух становится едким от аммиака.
Содержание животных в такой тесноте способствует быстрому распространению болезни. Хотя представители отрасли утверждают, что с 2012 года они резко сократили использование антибиотиков и в настоящее время производят почти половину мяса в стране, при этом на их долю приходится лишь 22% всех антибиотиков, используемых для сельскохозяйственных животных в Великобритании, по-прежнему существует серьезная обеспокоенность тем, что чрезмерное использование лекарств у животных способствовало устойчивость к антибиотикам.Эксперты предупреждают, что мы близки к тому моменту, когда человеческая медицина может оказаться без эффективных жизненно важных лекарств.
В Великобритании плотность посадки обычно составляет 38 кг птицы на квадратный метр – площадь меньше, чем лист бумаги формата А4 на каждую взрослую курицу. Свободный выгул и органическое производство требуют большего пространства, но у нашего типичного воскресного жареного цыпленка будет больше места в духовке, когда он мертв, чем он должен был жить на ферме. Чтобы максимизировать урожайность, фермеры часто затоваривают свои сараи в начале цикла, а затем прореживают часть птицы для убоя, потому что в противном случае цыплятам не хватило бы места для роста.Прореживание, когда рабочие выбраковывают некоторых цыплят, хватая их за ноги, вызывает стресс и является моментом, когда болезни часто могут проникнуть в сарай. Эта практика вносит значительный вклад в распространенность кампилобактера в стадах. Campylobacter потенциально смертелен для человека и является наиболее распространенной причиной болезней пищевого происхождения у людей в Великобритании, от которых ежегодно страдают более 250 000 человек.
Почему мы считаем приемлемым ожидать, что люди с более низкими доходами будут кормить своих детей более бедной фабричной пищей?Филип Лимбери, Compassion in World Farming
Кожа шеи кур часто является наиболее зараженной частью птицы.Переработчики теперь начали резать его на заводе, что увеличивает затраты, но устраняет часть бактериальной нагрузки — хорошие новости для потребителей, но, поскольку FSA собирало для испытаний именно эту часть птицы, разработка также была сорвана. программа. FSA заявило, что по-прежнему привержено борьбе с кампилобактером в качестве приоритета.
Благополучие животных, как правило, отодвигается на второй план во времена жесткой экономии и превращается в роскошь перед лицом потребности в дешевой пище. Но если правительство думало, что люди слишком запутались, чтобы о чем-то заботиться, то оно ошибалось.
Когда появились новости о том, что Департамент окружающей среды, продовольствия и сельского хозяйства (Defra) планировал передать работу по составлению руководств по благополучию сельскохозяйственных животных отрасли, начиная с сектора птицеводства в конце этого месяца, почти 150 000 человек подписали петиции против.
Дефра быстро отказался от этого плана, к ужасу Британского совета по птицеводству. «Мы были очень разочарованы этим решением, целью было привести руководство в соответствие с современными стандартами», — сказал директор по политике Ричард Гриффитс.«У Defra больше нет ресурсов для проверки кодов».
Представитель Defra сказал: «У нас самые высокие стандарты защиты животных в мире, и в законодательство не было предложено никаких изменений. Мы хотим более тесно использовать опыт сельскохозяйственной отрасли, чтобы наши кодексы социального обеспечения отражали самые последние научные и ветеринарные разработки.
«Мы считаем, что можем добиться этого, сохранив существующие законодательные кодексы. Работа сельскохозяйственной отрасли была неоценимой, и мы продолжим работать с ними, чтобы обеспечить обновление нашего руководства, чтобы наилучшим образом помочь им соблюдать наши стандарты благосостояния.”
Кодексы социального обеспечения не обновлялись с 2002 года. (При предыдущем коалиционном правительстве было урезано около четверти бюджета Defra, и в ходе этого парламента департамент увидит дальнейшие сокращения на 15%).
В то время как государство кажется, что стандарты отступают, крупный бизнес, реагируя на опасения своих клиентов, по иронии судьбы лидирует в некоторых областях.
В Великобритании и континентальной Европе McDonald’s, Sainsbury’s, Co-op, M&S и Waitrose перешли на бесклеточное производство яиц, которые они продают.Яйца Tesco теперь также примерно на 70% производятся без использования клеток, в то время как Waitrose и M&S применили те же стандарты к яйцам, используемым в качестве ингредиентов в других продуктах. В США Walmart взял на себя обязательство постепенно отказаться от выращивания яиц в клетках в течение следующих 10 лет. Группа кампании Compassion in World Farming оказывает давление на Asda в Великобритании, чтобы она последовала примеру своей материнской компании.
Asda заявила, что сохранение цен, которые сделали возможными обогащенные садковые системы, дало потребителям выбор стандартов благосостояния.«Наши клиенты говорят нам, что им нужен выбор, поэтому мы предлагаем широкий рекламный ассортимент яиц от «Умной цены» до яиц свободного ассортимента, все четко обозначено, чтобы клиенты могли принять обоснованное решение».
По мнению Филипа Лимбери, исполнительного директора организации Compassion in World Farming, аргумент о том, что интенсивное земледелие оправдано, поскольку более бедным людям нужно дешевое мясо или яйца, оскорбителен для людей с более низкими доходами. Интенсивно выращиваемый цыпленок содержит в три раза больше жира, на одну треть меньше белка и меньше полезных омега-3 жирных кислот, чем это было в 1970-х годах.
«Содержание цыплят в жестоких условиях приводит к ухудшению качества продукта», — сказал он. «Почему мы считаем приемлемым ожидать, что люди с более низкими доходами будут вынуждены кормить своих детей более бедной фабричной едой?»
ПТИЦА В ЦИФРАХ
■ Куриц в мире больше, чем любых других видов птиц: более 50 миллиардов из них ежегодно выращиваются для производства продуктов питания.
■ В 2015 году на рынке яиц Великобритании было произведено 10,02 миллиарда яиц, и еще 2 миллиарда были импортированы.
■ Британская промышленность по производству мяса птицы производит около 875 миллионов цыплят, 17 миллионов индеек, 16 миллионов уток и 250 000 гусей в год для потребления.


Из древесины клетку создать, естественно, легче. Но она не до такой степени крепка и для многоуровневых сооружений, например, не подходит.




Для усиления пола можно изготовить горизонтальные опоры из бруса 20×40 мм с промежутком между ними не меньше 20 см. Брус необходимо обработать антисептическим средством, например, известью либо олифой. Сетка прикрепляется к брусу посредством «саморезов-клопов».
Лицевая его кромка отгибается в форме ручки. Располагается он на настиле из бруска.




Из древесины клетку создать, естественно, легче. Но она не до такой степени крепка и для многоуровневых сооружений, например, не подходит.
Считается, что одной птице необходимо обособить пространство от 20 до 50 см2.


Для усиления пола можно изготовить горизонтальные опоры из бруса 20×40 мм с промежутком между ними не меньше 20 см. Брус необходимо обработать антисептическим средством, например, известью либо олифой. Сетка прикрепляется к брусу посредством «саморезов-клопов».
Лицевая его кромка отгибается в форме ручки. Располагается он на настиле из бруска.




Из древесины клетку создать, естественно, легче. Но она не до такой степени крепка и для многоуровневых сооружений, например, не подходит.
Считается, что одной птице необходимо обособить пространство от 20 до 50 см2.


Лицевая его кромка отгибается в форме ручки. Располагается он на настиле из бруска.



Из древесины клетку создать, естественно, легче. Но она не до такой степени крепка и для многоуровневых сооружений, например, не подходит.
Считается, что одной птице необходимо обособить пространство от 20 до 50 см2.


Для усиления пола можно изготовить горизонтальные опоры из бруса 20×40 мм с промежутком между ними не меньше 20 см. Брус необходимо обработать антисептическим средством, например, известью либо олифой. Сетка прикрепляется к брусу посредством «саморезов-клопов».
Лицевая его кромка отгибается в форме ручки. Располагается он на настиле из бруска.




Из древесины клетку создать, естественно, легче. Но она не до такой степени крепка и для многоуровневых сооружений, например, не подходит.
Считается, что одной птице необходимо обособить пространство от 20 до 50 см2.


Лицевая его кромка отгибается в форме ручки. Располагается он на настиле из бруска.



